Технология монтажа потолка из гипсокартона
Содержание
- Преимущества монтажа потолка из гипсокартона
- Технология установки гипсокартона на потолке
- Расчет материалов для монтажа потолка из гипсокартона
- Подготовка поверхности перед монтажом гипсокартона
- Методы крепления гипсокартона на потолке
- Шаги установки гипсокартонного потолка
- Отделка потолка из гипсокартона
- Уход за потолком из гипсокартона
- Вопрос-ответ:
- Какой материал используется для монтажа потолка из гипсокартона?
- Какие инструменты потребуются для монтажа потолка из гипсокартона?
- Как правильно монтировать потолок из гипсокартона?
- Можно ли самостоятельно установить потолок из гипсокартона?
- Какие преимущества имеет потолок из гипсокартона?
- Какой тип гипсокартона лучше всего подходит для монтажа потолка?
- Какой способ крепления гипсокартона наиболее надежный для монтажа потолка?
- Что нужно делать с швами между гипсокартонными листами после их установки?
- Какая технология монтажа потолка из гипсокартона самая популярная?
- Видео:
Монтаж потолков из гипсокартона – это современное решение, которое позволяет создавать функциональные и эстетически привлекательные интерьеры. Гипсокартон – это материал, состоящий из гипсовой пластинки, заключенной между двумя слоями картонной оболочки. Он используется для создания различных конструкций, включая перегородки, стены и, конечно же, потолки.
Гипсокартонные потолки позволяют решить множество архитектурных и дизайнерских задач. Они могут быть использованы как для создания ровной поверхности под окраску или покраску, так и для создания сложных и изысканных фигур, которые могут выделить ваш интерьер среди прочих. Благодаря своей гибкости и простоте обработки, гипсокартон легко дает возможность воплотить в жизнь любые дизайнерские идеи, от простых линий и геометрических форм, до сложных объемных композиций.
Одним из основных преимуществ гипсокартонных потолков является их легкость монтажа. Для установки не требуется профессиональной подготовки и специальных инструментов. Сам процесс монтажа достаточно прост и может быть выполнен собственными руками. Главное – следовать правильной технологии и тщательно выполнять все этапы работы.
Преимущества монтажа потолка из гипсокартона
1. Универсальность и гибкость. Гипсокартон позволяет создавать потолки различных форм и конфигураций. Он легко поддаётся гибке и резке, что позволяет адаптировать потолок под любые архитектурные особенности помещения.
2. Возможность создания многоуровневых потолков. Гипсокартонные потолки позволяют создавать сложные композиции и многоуровневые конструкции. Это дает возможность воплотить дизайнерские идеи и добавить изюминку в интерьер.
3. Легкий доступ к коммуникациям. Монтаж гипсокартонного потолка обеспечивает легкий доступ к коммуникациям, таким как проводка и трубы. Это позволяет комфортно проводить ремонтные и обслуживающие работы в случае необходимости.
4. Звукоизоляция и теплоизоляция. Гипсокартонные потолки обладают хорошими звукоизоляционными и теплоизоляционными характеристиками. Они способны снижать шум и сохранять тепло в помещении, что создает комфортные условия для проживания или работы.
5. Простота установки и возможность самостоятельного монтажа. Монтаж гипсокартонного потолка не требует особых навыков и больших затрат на инструменты. С помощью специальных крепежных элементов и инструкций можно выполнить монтаж самостоятельно или обратиться к специалистам для более сложных случаев.
6. Экологичность и безопасность. Гипсокартонные потолки изготавливаются из экологически чистых материалов и не содержат вредных веществ. Они не образуют пыли и не выделяют вредных испарений, что обеспечивает безопасность для жилищных и рабочих помещений.
7. Привлекательный внешний вид. Гипсокартонные потолки имеют гладкую поверхность, которую легко можно декорировать, окрасить или нанести рельефные узоры. Это позволяет создавать потолки с эстетически привлекательным внешним видом, отвечающим требованиям дизайна интерьера.
8. Долговечность и надежность. Гипсокартонные потолки обладают высокой стойкостью к влаге, деформациям и механическим повреждениям. Они сохраняют свою форму и эстетику на протяжении длительного времени, не требуя специального ухода.
9. Экономия времени и денег. Монтаж гипсокартонного потолка требует меньшего времени и финансовых затрат по сравнению с другими видами потолков. Благодаря простоте и доступности материалов, а также универсальности конструкций, сэкономить время и деньги на монтаже потолка становится возможным.
10. Возможность скрыть неровности и дефекты основания. Гипсокартонные потолки отлично маскируют неровности и дефекты основания, такие как трещины, швы или выступы. Они создают идеально ровную поверхность, что является важным аспектом при ремонте или строительстве.
Помимо перечисленных преимуществ, монтаж потолка из гипсокартона может предоставить еще множество положительных результатов. Важно выбирать качественные материалы, следовать правилам установки и обращаться к профессионалам в случае необходимости. Это обеспечит долговечность, надежность и эстетическую привлекательность потолка из гипсокартона в вашем помещении.
Технология установки гипсокартона на потолке
Прежде чем приступить к установке гипсокартона, необходимо подготовить поверхность потолка. Сначала необходимо провести осмотр и исправить все дефекты — трещины, выбоины или неровности. Затем поверхность потолка следует очистить от пыли и грязи. Рекомендуется использовать шпатель или щетку для удаления старого покрытия.
Далее следует обратить внимание на каркас потолка. Каркас изготавливается из металлического профиля, который крепится к стенам с помощью дюбелей или саморезов. Важно правильно разметить и замерить размеры каркаса, чтобы гипсокартонные листы плотно прилегали и не образовывали зазоров.
После установки каркаса необходимо приступить к монтажу гипсокартонных листов. Листы гипсокартона крепятся к каркасу с помощью саморезов или гипсовых дюбелей. При установке следует обратить внимание на правильное распределение нагрузки и избегать перекосов и прогибов.
После закрепления гипсокартонных листов, следует произвести шпаклевку и шлифовку поверхности. Процесс шпаклевки включает нанесение шпатлевки на швы и перекрытия между листами, а также удаление излишков и выравнивание поверхности. После высыхания шпатлевки поверхность шлифуется, чтобы создать гладкую и ровную поверхность.
В завершение процесса установки гипсокартона на потолке необходимо провести отделку поверхности. Отделка может включать покраску, обои или установку декоративных элементов. Рекомендуется выбирать отделочные материалы, которые обеспечат долговечность и легкость ухода.
Следуя этой технологии установки гипсокартона на потолке, вы сможете создать стильный и надежный потолок, который прослужит долгие годы и будет радовать глаз своей красотой и функциональностью.
Расчет материалов для монтажа потолка из гипсокартона
Перед началом монтажа потолка из гипсокартона необходимо правильно рассчитать все необходимые материалы. Это позволит избежать излишков или недостачи в процессе работы, а также сэкономить свое время и силы.
Шаг 1: Определение площади потолка и количества листов гипсокартона
Первым шагом в расчете материалов является определение площади потолка. Для этого необходимо измерить длину и ширину помещения, а затем перемножить эти значения. После этого необходимо вычесть площади постоянных препятствий, таких как люстры или вентиляционные отверстия. Полученную площадь потолка следует разделить на площадь одного листа гипсокартона (обычно 1.2 x 2.4 м).
Также следует учесть, что при монтаже потолка из гипсокартона устанавливаются так называемые «подвесы», которые обеспечивают необходимый зазор между потолком и напольными конструкциями. Обычно подвесы устанавливаются каждые 40-60 см в каждом направлении. Для расчета количества подвесов необходимо разделить длину и ширину помещения на шаг подвеса и умножить полученные значения между собой.
Шаг 2: Расчет каркаса потолка
Каркас потолка из гипсокартона состоит из поперечных и продольных профилей. Для расчета количества профилей необходимо знать шаг крепления, который обычно составляет 60-70 см. Поэтому следует разделить длину и ширину помещения на шаг крепления и умножить полученные значения между собой. От полученного числа следует отнять количество профилей подвесов (полученное на предыдущем шаге). Полученное число умножается на 2 для учета поперечных и продольных профилей.
Также следует учесть, что для монтажа каркаса потолка необходимо использовать соединители профилей и саморезы.
Шаг 3: Расчет количества материала для облицовки гипсокартоном
Для облицовки гипсокартоном потолка необходимо знать длину и ширину каждого листа гипсокартона. Размеры листов могут быть различными, например, 1.2 x 2.4 м или 1.2 x 3 м. Для расчета количества листов гипсокартона следует разделить площадь потолка на площадь одного листа и округлить полученное число в большую сторону.
Также следует учесть, что для монтажа гипсокартона необходимо использовать шурупы или саморезы, а также скотч или клей для крепления швов.
Следуя этим шагам, вы сможете правильно рассчитать все необходимые материалы для монтажа потолка из гипсокартона и успешно выполнить работу.
Подготовка поверхности перед монтажом гипсокартона
Шаг 1: Очистка поверхности
Перед началом монтажа гипсокартона необходимо очистить поверхность от пыли, грязи, жира и других загрязнений. Для этого можно использовать щетку, пылесос или влажную тряпку. Важно убедиться, что поверхность полностью чиста и готова для работы.
Шаг 2: Выравнивание стен
Если стены имеют неровности, трещины или выпуклости, их необходимо выровнять перед установкой гипсокартона. Для этого можно использовать шпатлевку или гипсовую смесь. Поверхность должна быть ровной и гладкой, чтобы избежать проблем при монтаже гипсокартона.
Шаг 3: Установка металлического каркаса
После подготовки поверхности необходимо установить металлический каркас, на котором будет закреплен гипсокартон. Каркас обеспечивает прочность и надежность конструкции. Его можно установить при помощи специальных крепежных элементов или шурупов.
Шаг 4: Установка гипсокартона
После установки металлического каркаса можно приступить к установке гипсокартона. Плиты гипсокартона должны быть аккуратно нарезаны и закреплены на каркасе с использованием саморезов или шурупов. Рекомендуется оставлять небольшие зазоры между плитами для последующей шпаклевки.
Правильная подготовка поверхности перед монтажом гипсокартона является гарантией долговечности и надежности конструкции. Следуя приведенным выше шагам, можно достичь качественного и ровного потолка из гипсокартона.
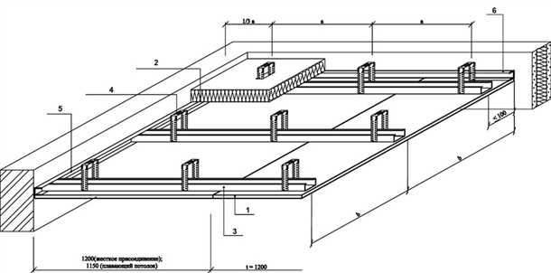
Методы крепления гипсокартона на потолке
При монтаже потолка из гипсокартона существует несколько методов крепления материала. Выбор определенного метода зависит от различных факторов, включая конструкцию потолка, его материал, требования к звукоизоляции и теплоизоляции.
1. Каркасный метод
Один из наиболее распространенных методов крепления гипсокартона на потолке — это использование каркасной системы. Для этого необходимо установить каркас из металлических профилей на потолке. Профили могут быть разных размеров и форм, в зависимости от требований и конструкции потолка. Затем гипсокартона крепится к каркасу при помощи саморезов или винтов.
Преимущества каркасного способа включают возможность создания сложных форм и декоративных элементов на потолке, а также удобство монтажа проводки и вентиляционных систем.
2. Безкаркасный метод
Другой способ монтажа гипсокартона на потолке — это безкаркасный метод. Для этого гипсокартон крепится непосредственно к поверхности потолка при помощи клея или специальных гвоздей-стапелей. Этот метод подходит, если поверхность потолка ровная и не имеет больших неровностей.
Преимущества безкаркасного метода включают более простой и быстрый монтаж, а также экономию материалов и снижение затрат на строительство.
3. Комбинированный метод
Третий метод крепления гипсокартона на потолке — это комбинированный метод, который сочетает преимущества каркасного и безкаркасного способов. В этом случае часть потолка монтируется с использованием каркаса, а часть — без каркаса. Это может быть полезно, если есть необходимость в особых декоративных или функциональных решениях на разных участках потолка.
- Каркасный метод подходит для создания сложных форм и декоративных элементов.
- Безкаркасный метод удобен для ровных поверхностей и быстрого монтажа.
- Комбинированный метод позволяет сочетать преимущества обоих способов.
При выборе метода крепления гипсокартона на потолке необходимо учитывать требования к конструкции потолка, его материал, а также индивидуальные предпочтения и возможности заказчика. Обратитесь к специалисту, чтобы выбрать наиболее подходящий метод и гарантировать качественный монтаж потолка из гипсокартона.
Шаги установки гипсокартонного потолка
- Подготовьте помещение. Снимите все предметы и мебель с пола и установите защитные пленки на стены и пол, чтобы защитить их от пыли и грязи.
- Измерьте и отметьте положение нового потолка. Используйте красную нить или лазерный уровень для создания прямой и ровной линии, по которой будет установлен потолок.
- Подготовьте материалы и инструменты. Вам понадобятся гипсокартонные листы, металлические профили, маркер, рулетка, нож для резки гипсокартона, шуруповерт, шурупы, шлифовальная машина и другие инструменты.
- Установите металлические профили. Прикрепите горизонтальные профили к стенам, используя шурупы. Затем прикрепите вертикальные профили к горизонтальным, образуя раму для гипсокартонных листов.
- Раскройте гипсокартонные листы под размеры потолка. Используйте нож для резки гипсокартона, чтобы точно подогнать листы к размеру потолка.
- Установите гипсокартонные листы на металлическую раму. Прикрепите листы к раме, используя шурупы. Затем затяните шурупы, чтобы листы были плотно прижаты к раме.
- Заполните швы между гипсокартонными листами гипсовым составом. Используйте шпатели или лопатку, чтобы равномерно нанести и разровнять гипсовый состав вдоль швов. После высыхания, шлифуйте поверхность, чтобы сделать ее гладкой и ровной.
- Нанесите отделочное покрытие. Закрасьте гипсокартонный потолок краской или нанесите декоративное покрытие, чтобы придать ему желаемый внешний вид.
- Завершите установку. Уберите защитные пленки, верните мебель на место и наслаждайтесь новым гипсокартонным потолком.
Следование этим шагам поможет вам успешно установить гипсокартонный потолок и создать стильное и уютное помещение.
Отделка потолка из гипсокартона
Преимущества гипсокартона для отделки потолка
Гипсокартон обладает рядом преимуществ, которые делают его идеальным материалом для отделки потолка. Во-первых, он легко поддается обработке и позволяет создать любую форму конструкции. Во-вторых, гипсокартон устойчив к перепадам температуры и влажности, что делает его долговечным материалом. Кроме того, гипсокартон позволяет скрыть коммуникации, проводку и шумоизоляцию, обеспечивая безупречный внешний вид и комфортное проживание в помещении.
Технология отделки потолка из гипсокартона
Процесс отделки потолка из гипсокартона начинается с очистки и подготовки поверхности. Затем на потолок крепятся металлические профили, которые образуют основу для будущей конструкции. Следующим шагом является монтаж гипсокартонных листов на профили. После этого происходит заделка швов и отверстий, а также нанесение шпаклевки, чтобы скрыть все неровности и создать ровную поверхность.
После высыхания шпаклевки производится шлифовка поверхности и нанесение финишной отделки, которая может быть самой разной: покраска, обои, декоративная штукатурка или панели. Также можно установить подсветку и декоративные элементы, чтобы придать потолку особую изюминку.
Отделка потолка из гипсокартона является сложным и трудоемким процессом, поэтому важно обращаться к профессионалам, чтобы получить качественный результат и избежать возможных проблем в будущем.
Уход за потолком из гипсокартона
Одним из важных аспектов ухода за потолком из гипсокартона является его регулярная чистка. Для этого рекомендуется использовать мягкую щетку или влажную тряпку. При этом необходимо избегать использования абразивных средств и жесткой губки, чтобы не повредить поверхность гипсокартона.
Также следует учитывать, что гипсокартонные потолки чувствительны к воздействию влаги. Поэтому при уходе за ними необходимо избегать прямого попадания воды или других жидкостей на поверхность потолка. В случае попадания жидкости, ее необходимо немедленно вытереть сухой тряпкой или губкой.
Регулярная проверка целостности и стабильности гипсокартонного потолка также важна для его ухода. Необходимо следить за наличием трещин, выпадениями или обломками на поверхности. В случае обнаружения повреждений, рекомендуется обратиться к профессионалам для их ремонта и восстановления.
Окружающая среда и условия эксплуатации также могут повлиять на состояние потолка из гипсокартона. Например, при высокой влажности в помещении рекомендуется использовать специальные влагостойкие материалы при монтаже потолка. Также следует избегать прямого попадания прямых солнечных лучей на поверхность потолка.
Важно помнить, что потолок из гипсокартона требует аккуратности при использовании и уходе. Соблюдение простых правил и регулярный уход помогут сохранить его привлекательный внешний вид и длительный срок службы в отличном состоянии.
| Регулярно чистите потолок | Мягкой щеткой или влажной тряпкой |
|---|---|
| Избегайте использования абразивных средств и жесткой губки | Чтобы не повредить поверхность гипсокартона |
| Не допускайте прямого попадания воды или других жидкостей | Если попадает, немедленно вытирайте сухой тряпкой или губкой |
| Регулярно проверяйте целостность и стабильность потолка | Обращайтесь к профессионалам при обнаружении повреждений |
| Учитывайте условия эксплуатации и окружающую среду | Используйте влагостойкие материалы, избегайте прямого солнечного излучения |
Вопрос-ответ:
Какой материал используется для монтажа потолка из гипсокартона?
Какие инструменты потребуются для монтажа потолка из гипсокартона?
Как правильно монтировать потолок из гипсокартона?
Можно ли самостоятельно установить потолок из гипсокартона?
Какие преимущества имеет потолок из гипсокартона?
Какой тип гипсокартона лучше всего подходит для монтажа потолка?
Какой способ крепления гипсокартона наиболее надежный для монтажа потолка?
Что нужно делать с швами между гипсокартонными листами после их установки?
Какая технология монтажа потолка из гипсокартона самая популярная?
Видео:
Как сделать каркас под гипсокартон на потолке
Подвесной потолок из КНАУФ-листов П 113
Самый ЛЕГКИЙ монтаж гипсокартон на потолок в одиночку. Easist install gypsum board ceiling #11
-
Как клеить потолочную плитку без швов -
Чем обшить потолок в деревянном доме -
Тонкая шумоизоляция потолка










