Устройство потолка из гипсокартона
Содержание
- Что такое гипсокартонные потолки?
- Виды гипсокартонных потолков
- Преимущества использования гипсокартона для потолков
- Недостатки гипсокартонных потолков
- Технология установки гипсокартонных потолков
- Рекомендации по выбору профессионалов для установки гипсокартонных потолков
- Уход и обслуживание гипсокартонных потолков
- Дизайн гипсокартонных потолков
- Цены на гипсокартонные потолки
- Вопрос-ответ:
- Что такое гипсокартон?
- Какие преимущества имеет гипсокартонный потолок?
- Какой процесс установки гипсокартонного потолка?
- Можно ли самостоятельно установить гипсокартонный потолок?
- Какой бюджет нужен для установки гипсокартонного потолка?
- Какие основные преимущества устройства потолка из гипсокартона?
- Каким образом можно отделать потолок из гипсокартона?
- Видео:
Гипсокартонный потолок – это один из самых популярных способов отделки потолков в домах и офисах. Он отличается простотой и доступностью в установке, а также позволяет решить множество дизайнерских задач. Устройство потолка из гипсокартона не требует больших затрат времени и денег, при этом позволяет получить ровную поверхность для последующей отделки.
Гипсокартон представляет собой листовой материал, состоящий из гипсового сердечника, заключенного между двумя слоями картона. Он имеет небольшой вес и прочность, что облегчает его транспортировку и монтаж. Установка гипсокартонного потолка начинается с монтажа металлического каркаса, который закрепляется на основной потолочной конструкции. Затем на каркас укладываются листы гипсокартона, которые затем шлифуются и обрабатываются шпаклевкой для создания ровной поверхности.
Потолок из гипсокартона позволяет воплотить в жизнь множество дизайнерских и архитектурных идей. С его помощью можно создать многоуровневые потолки с нишами и подсветкой, а также разделить пространство на зоны с разным уровнем освещения. Гипсокартонный потолок также предоставляет возможность установки люстры, вентиляционных отверстий и других элементов бытовой техники. Благодаря своей универсальности, гипсокартонный потолок остается одним из наиболее востребованных материалов для отделки потолков.
Что такое гипсокартонные потолки?
Гипсокартон, из которого изготавливаются гипсокартонные потолки, представляет собой листы из двух слоев гипса, смешанного с картоном. Он легко поддается обработке и достаточно прочен. Гипсокартонные потолки можно использовать не только для декоративных целей, но и для установки различных систем освещения и вентиляции.
Устройство гипсокартонных потолков не требует сложных инструментов и большого количества времени. После подготовительных работ, связанных с основным потолком и планировкой установки систем, можно приступать к установке гипсокартона. После данного этапа, необходимо провести шпаклевку и покраску гипсокартонной поверхности.
Гипсокартонные потолки могут быть одноуровневыми и многоуровневыми, что дает возможность реализовать любые дизайнерские задумки и создать красивый и оригинальный интерьер. Кроме того, гипсокартон позволяет скрыть коммуникации и создать дополнительное пространство для их размещения.
Преимущества гипсокартонных потолков:
- Легкость и удобство установки: при монтаже гипсокартона нет необходимости использовать специализированное оборудование и проводить сложные технические операции.
- Экологичность: гипсокартон изготавливается из натуральных материалов, не содержит вредных веществ и безопасен для здоровья.
- Доступность: гипсокартонные потолки имеют низкую стоимость по сравнению с аналогичными материалами.
- Возможность реализации дизайнерских идей: гипсокартонные потолки позволяют создавать любую форму и комплексные конструкции.
Гипсокартонные потолки — это отличное решение для создания красивого и функционального интерьера. С их помощью можно усовершенствовать дизайн помещения, скрыть недостатки основного потолка и создать уютную атмосферу.
Виды гипсокартонных потолков
Существует несколько видов гипсокартонных потолков:
Одноуровневые потолки. Это самый простой и распространенный вариант. При его установке, гипсокартон крепится к металлическому каркасу и затем штукатурится, покрывается краской или обоями.
Многоуровневые потолки. Этот вариант позволяет создать интересные и необычные дизайнерские решения. Здесь используются несколько уровней гипсокартона, которые могут быть расположены на разных высотах. Такие потолки могут быть декорированы различными материалами, такими как натяжные пленки, декоративная штукатурка или лепнина.
Звукоизоляционные потолки. Гипсокартонные потолки могут также использоваться для улучшения звукоизоляции помещения. В этом случае, специальные материалы для изоляции укладываются между слоями гипсокартона, что позволяет существенно снизить шум от соседних помещений.
Влагостойкие потолки. Для помещений с повышенной влажностью, таких как ванные комнаты или кухни, используются влагостойкие гипсокартонные конструкции. Такие потолки обладают специальной пропиткой, что позволяет им устойчиво выдерживать воздействие влаги и не разрушаться.
Выбор вида гипсокартонного потолка зависит от ваших предпочтений, функциональных требований и бюджета. Независимо от выбранного варианта, гипсокартонные потолки помогут создать красивое и стильное пространство в вашем помещении.
Преимущества использования гипсокартона для потолков
- Простота монтажа. Гипсокартон легкий и гибкий материал, что позволяет создавать из него различные формы и конструкции. Монтаж такого потолка не требует специальных инструментов и достаточно прост в исполнении.
- Высокая прочность. Материал обладает достаточной прочностью для использования в помещениях различного назначения. Потолок из гипсокартона может выдерживать значительные нагрузки и сохранять свою форму в течение многих лет.
- Возможность скрыть коммуникации. Гипсокартонные потолки позволяют легко скрыть провода, вентиляционные системы и другие коммуникации, создавая эстетически приятное и аккуратное впечатление.
- Улучшение звукоизоляции. Гипсокартонные конструкции способны уменьшить уровень шума в помещении. При наличии необходимых утеплителей и звукоизоляционных материалов гипсокартонный потолок обеспечивает комфортную и тихую обстановку.
- Возможность создания многоуровневых потолков. Гибкость материала позволяет создавать сложные многоуровневые конструкции, разделяя помещение на зоны с различными функциями.
- Возможность декоративной отделки. Гипсокартонный потолок легко поддается обработке и позволяет создавать разнообразные креативные решения. Любая отделка — покраска, обои, натяжные или натуральные материалы — могут быть использованы для создания идеального интерьера.
- Огнестойкость. Гипсокартон обладает огнестойкими свойствами, что делает его безопасным материалом для использования в любом типе здания, включая жилые и коммерческие помещения.
Использование гипсокартона для потолков — это отличное решение, которое сочетает в себе функциональность, красоту и практичность. Этот материал позволяет создавать уникальные и стильные интерьеры, обладает высоким уровнем прочности и огнестойкости, а также способствует улучшению звукоизоляции в помещении.
Недостатки гипсокартонных потолков
1. Чувствительность к влажности: Гипсокартонные потолки могут быть повреждены при попадании воды или высокой влажности в помещение. В результате этого может возникнуть деформация материала, появление плесени и разрушение поверхности потолка.
2. Неустойчивость к механическим воздействиям: Гипсокартон относительно хрупкий материал, который может легко повредиться при ударе или падении тяжелых предметов на поверхность потолка. Такие повреждения могут требовать ремонта или замены гипсокартонного покрытия.
3. Ограниченная надежность крепления: Гипсокартон крепится к металлическому каркасу, который, в свою очередь, крепится к основным несущим элементам здания. Однако с течением времени или из-за неправильного монтажа, крепления могут ослабеть, что может привести к провисанию потолка.
4. Чувствительность к температурным изменениям: Гипсокартон плохо переносит резкие изменения температуры. При сильном нагреве или охлаждении гипсокартон может деформироваться, что приведет к образованию трещин и неровностей на поверхности потолка.
5. Неэстетичный вид: Несмотря на то, что гипсокартон может быть покрыт покраской или обоями, его поверхность часто остается видимой. При неаккуратном монтаже или недостаточном качестве отделки, на поверхности потолка могут остаться швы, трещины или неровности, что может ухудшить внешний вид помещения.
6. Затрудненный доступ к коммуникациям: При необходимости ремонта или обслуживания коммуникаций, расположенных под гипсокартонным потолком, может потребоваться его разборка или повреждение. Это может быть неудобно и затратно в случае, если потолок оформлен сложным декоративным элементами или имеет большую площадь.
Технология установки гипсокартонных потолков
1. Подготовка поверхности
Перед установкой гипсокартонного потолка необходимо подготовить поверхность. Важно, чтобы она была ровной, чистой и сухой. Если поверхность имеет неровности, их следует выравнивать с помощью штукатурки или специальных смесей. После выравнивания поверхности следует обработать ее грунтовкой, что обеспечит лучшее сцепление между поверхностью и гипсокартоном.
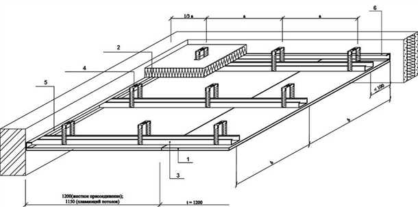
2. Установка каркаса
После подготовки поверхности необходимо установить каркас для гипсокартонного потолка. Каркас можно выполнить из деревянных или металлических профилей. Для установки каркаса необходимо прикрепить профили к стенам и потолку с помощью дюбелей или саморезов. Расстояние между профилями зависит от толщины и размеров листов гипсокартона, которые будут использоваться для покрытия потолка.
3. Установка гипсокартона
После установки каркаса можно приступать к установке гипсокартона. Листы гипсокартона следует нарезать на нужные размеры с помощью специального ножа или стамески. После нарезки гипсокартона он крепится к каркасу при помощи саморезов или специального клея. Важно обратить внимание на то, чтобы соединения между листами гипсокартона были надежными и герметичными, чтобы избежать появления трещин и сколов.
После установки гипсокартона рекомендуется произвести обработку поверхности. Это может включать шпаклевку, шлифовку и покраску. В результате получится ровный и гладкий поверхность, на которой можно будет наносить любую отделку.
С помощью вышеописанной технологии установки гипсокартонных потолков вы сможете создать красивый и прочный потолок, который прослужит вам долгие годы. Важно следовать инструкциям производителей и придерживаться безопасности при установке гипсокартонных конструкций.
Рекомендации по выбору профессионалов для установки гипсокартонных потолков
Следующие рекомендации помогут вам выбрать профессионала, который сможет установить гипсокартонные потолки качественно и безопасно:
1. Ищите рекомендации и отзывы
Обратите внимание на рекомендации от знакомых, соседей или коллег. Если у кого-то из них уже был опыт работы с мастером, это может быть полезной информацией. Также ищите отзывы и рейтинги мастеров на специализированных интернет-платформах.
2. Проверяйте опыт и профессионализм
Узнайте, сколько лет мастер работает в данной сфере и свяжитесь с его предыдущими клиентами, чтобы убедиться в его профессионализме. Задавайте вопросы о технике работы, используемых материалах и сроках выполнения.
3. Оценивайте качество предоставленных примеров работ
Попросите профессионала предоставить вам фотографии или примеры его предыдущих работ. Так вы сможете оценить качество и стиль его работы и решить, подходит ли вам это.
4. Запросите подробную информацию о стоимости и условиях
Попросите мастера составить детальный сметный расчет, чтобы вы смогли оценить стоимость работ и сделать выбор на основе своих финансовых возможностей. Убедитесь, что в стоимость включены все необходимые материалы и работы.
5. Объясните свои требования и ожидания
При встрече с мастером, четко объясните свои требования и ожидания по поводу исполнения работ. Обсудите любые детали и особенности, которые вам важны. Убедитесь, что специалист его понимает и готов выполнить их.
Следуя этим рекомендациям, вы сможете выбрать профессионала, который выполнит установку гипсокартонного потолка качественно и без проблем. Тщательный подбор специалиста поможет вам избежать непредвиденных проблем и получить потолок, который будет радовать вас долгие годы.
Уход и обслуживание гипсокартонных потолков
Чистка поверхности
Периодическая чистка поверхности гипсокартонного потолка помогает сохранить его чистоту и свежий вид. Для удаления пыли и грязи можно использовать мягкую щетку или влажную тряпку. Важно не наносить сильное давление при чистке, чтобы избежать повреждения покрытия.
Совет: Не рекомендуется использовать агрессивные чистящие средства или абразивные материалы, так как они могут поцарапать поверхность гипсокартона.
Регулярный осмотр и ремонт
Регулярный осмотр гипсокартонного потолка позволяет выявлять мелкие повреждения и своевременно их исправлять. Если обнаружены трещины, отслоения или повреждения покрытия, необходимо провести ремонт. Для этого можно использовать шпатлевку или герметик, в зависимости от типа повреждения.
Примечание: При проведении ремонта рекомендуется обратиться к специалистам, чтобы избежать ошибок и повреждения потолка.
Благодаря правильному уходу и обслуживанию гипсокартонные потолки могут служить вам долгие годы, сохраняя свою привлекательность и функциональность.
Дизайн гипсокартонных потолков
Гипсокартонные потолки предлагают широкие возможности для реализации различных дизайнерских идей. Они позволяют создавать уникальные и привлекательные интерьеры, придавая помещению индивидуальность и выразительность. В этом разделе мы рассмотрим несколько популярных дизайнерских решений, которые можно реализовать с помощью гипсокартонных потолков.
Многоуровневые потолки
Одним из наиболее популярных и эффектных способов оформления гипсокартонных потолков является создание многоуровневых композиций. Такой дизайн придает помещению объем и глубину, делает его более интересным и эстетичным. Многоуровневые потолки могут быть выполнены в различных стилях – от классического до современного, в соответствии с общим дизайном комнаты.
Подсветка
Гипсокартонные потолки идеально сочетаются с различными типами подсветки. Благодаря гибкости материала, можно легко встроить светодиодные ленты, споты, светильники и другие источники освещения. Подсветка позволяет создать особую атмосферу в комнате, выделить акцентные зоны, привлечь внимание к деталям интерьера. К тому же, подсветка позволяет визуально увеличить пространство комнаты и скрыть недостатки потолка.
Выбор дизайна гипсокартонных потолков зависит от многих факторов, включая общий стиль интерьера, функциональные особенности помещения, личные предпочтения. Однако, независимо от выбранного дизайна, гипсокартонные потолки всегда будут отличаться качеством и надежностью, а также доступной ценой и простотой монтажа.
Цены на гипсокартонные потолки
Цены на гипсокартонные потолки зависят от различных факторов, таких как площадь помещения, сложность монтажа, дизайн и выбор отделочных материалов. В среднем, стоимость установки гипсокартонного потолка составляет от 800 до 1500 рублей за квадратный метр.
Определенные факторы, которые могут повлиять на стоимость гипсокартонного потолка, включают:
- Размер и сложность помещения. Более большие и сложные помещения требуют больше материалов и времени на установку.
- Уровень отделки. Если требуется более сложный дизайн или использование дополнительных элементов, таких как многоуровневые потолки или световые точки, цена может увеличиться.
- Выбор материалов. Существуют различные варианты отделки гипсокартонного потолка, и каждый из них имеет свою собственную стоимость.
Важно помнить, что цена на гипсокартонные потолки также может включать в себя стоимость материалов, доставку, монтаж и дополнительные услуги, такие как шлифовка и покраска. Поэтому рекомендуется обратиться к профессионалам, чтобы получить точную оценку стоимости работ.
Преимущества гипсокартонных потолков
Гипсокартонные потолки имеют ряд преимуществ, которые делают их популярным выбором для отделки помещений:
- Возможность скрыть неровности. Гипсокартонные потолки могут скрыть неровности и недостатки основного потолка, создавая ровную поверхность.
- Легкий доступ к коммуникациям. С помощью гипсокартонных потолков можно легко установить люки или снять отдельные секции для доступа к коммуникациям.
- Возможность создания дизайнерских решений. Гипсокартонные потолки позволяют создать различные дизайнерские решения, такие как многоуровневые потолки или использование подсветки.
- Изоляция от шума и тепла. Гипсокартонные потолки могут служить дополнительным слоем изоляции, повышающим шумо- и теплоизоляцию помещения.
Сравнение цен
Важно сравнить цены различных компаний и специалистов, чтобы выбрать наиболее выгодное предложение. Однако стоит помнить, что качество материалов и опыт исполнителя также играют важную роль.
Дешевые услуги могут оказаться низкого качества и привести к последующим проблемам. Поэтому рекомендуется обращаться к проверенным профессионалам, которые гарантируют качество и выполняют работы в срок.
Вопрос-ответ:
Что такое гипсокартон?
Какие преимущества имеет гипсокартонный потолок?
Какой процесс установки гипсокартонного потолка?
Можно ли самостоятельно установить гипсокартонный потолок?
Какой бюджет нужен для установки гипсокартонного потолка?
Какие основные преимущества устройства потолка из гипсокартона?
Каким образом можно отделать потолок из гипсокартона?
Видео:
потолок из гипсокартона, очередность монтажа, все секреты. Plasterboard ceiling.
каркас П 113 от Knauf с отвязкой по периметру
Крепление гипсокартона одному. 2 способа как монтировать ГКЛ самостоятельно.
-
Как клеить потолочную плитку без швов -
Чем обшить потолок в деревянном доме -
Тонкая шумоизоляция потолка













