Центробежный насос — принцип работы, схема и преимущества использования
Содержание
- Центробежный насос: схема и принцип работы
- Технические характеристики центробежного насоса
- Устройство центробежного насоса
- Принцип работы центробежного насоса
- Виды центробежных насосов
- Применение центробежных насосов
- Особенности монтажа и обслуживания центробежных насосов
- Преимущества и недостатки центробежных насосов
- Рекомендации по выбору центробежного насоса
- Вопрос-ответ:
- Как работает центробежный насос по схеме?
- Чем отличается центробежный насос от других типов насосов?
- Какие преимущества имеет центробежный насос по сравнению с другими типами насосов?
- Какие типы центробежных насосов существуют?
- Где применяются центробежные насосы?
- Что такое центробежный насос и как он работает?
- Существуют ли различные типы центробежных насосов?
- Какую роль играют вихревые и радиальные лопасти в центробежном насосе?
- Можно ли использовать центробежный насос для перекачки различных жидкостей?
- Какие факторы следует учитывать при выборе центробежного насоса?
- Как работает центробежный насос?
- Какие основные элементы составляют центробежный насос?
- Видео:
Центробежный насос схема – это устройство, используемое для перекачивания жидкости или газа путем преобразования механической энергии в энергию потока. Данный вид насосов является одним из наиболее распространенных и эффективных решений в области насосной техники.
Основная схема центробежного насоса состоит из следующих основных элементов: корпуса, рабочего колеса, оси и привода. Корпус насоса служит для укрепления всех остальных деталей и предотвращения утечки жидкости или газа. Рабочее колесо часто имеет спиральную форму и предназначено для создания центробежной силы, которая приводит к перекачке жидкости или газа.
Также важной частью схемы центробежного насоса является ось, которая соединяет рабочее колесо с приводом. Ось обеспечивает вращение колеса и перекачку жидкости или газа. Привод насоса может быть различным – от электрического или механического до гидравлического или пневматического.
Особенностью центробежного насоса является его способность создавать большое давление и перекачивать большой объем жидкости или газа за короткий промежуток времени. Благодаря этим свойствам данный тип насосов широко применяется в различных отраслях – от водоснабжения и орошения до нефтяной и газовой промышленности.
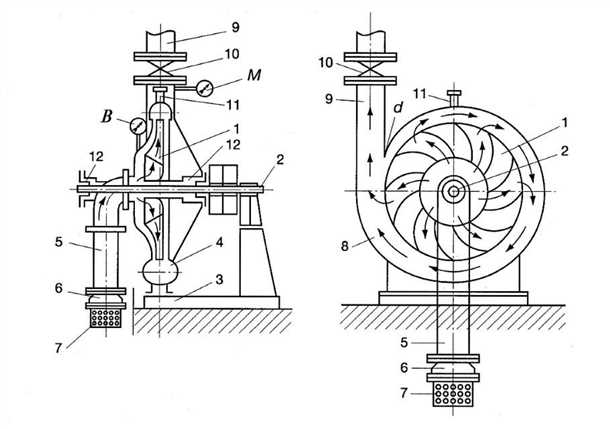
Центробежный насос: схема и принцип работы
Внешний вид центробежного насоса можно описать следующей схемой:
[Рисунок схемы центробежного насоса]
Основные компоненты центробежного насоса:
- Корпус — оболочка, в которой располагаются все внутренние детали насоса. Корпус обычно имеет форму цилиндра или конуса.
- Ротор — ось с лопастями, которая располагается внутри корпуса и вращается вокруг своей оси при включении насоса. Расположение лопастей на роторе определяет направление перекачки среды.
- Вала — ось, которая соединяет ротор с приводом насоса. Она передает вращательное движение ротора на привод, который обеспечивает работу насоса.
- Впускное отверстие — отверстие, через которое жидкость или газ поступает в насос из источника.
- Выпускное отверстие — отверстие, через которое перекаченная жидкость или газ выходит из насоса в конечный пункт назначения.
Принцип работы центробежного насоса заключается в использовании сил центробежной силы и давления, создаваемых вращающимся ротором. Вначале жидкость или газ поступает в насос через впускное отверстие. Затем они попадают на лопасти ротора, который начинает вращаться с высокими скоростями. В результате вращения создается центробежная сила, которая заставляет среду перемещаться от впускного отверстия к выпускному отверстию насоса.
Центробежные насосы широко применяются в различных отраслях промышленности, включая нефтегазовую, химическую и водоснабжение. Они предоставляют эффективный способ перемещения жидкостей и газов на большие расстояния с высокой производительностью и энергоэффективностью.
Технические характеристики центробежного насоса
Ниже приведены основные технические характеристики центробежного насоса:
- Производительность: этот параметр указывает на количество жидкости, которое насос способен передать за определенное время. Обычно выражается в литрах в секунду или в галлонах в минуту.
- Напор: это высота, на которую насос способен поднять жидкость от нижнего уровня до верхнего. Измеряется в метрах или футах.
- Мощность: это количество энергии, которое насос потребляет для своей работы. Измеряется в ваттах или лошадиных силах.
- Скорость вращения: это скорость, с которой вращаются лопасти или лопатки насоса. Измеряется в оборотах в минуту (об/мин).
- Рабочее давление: это максимальное давление, с которым насос может работать без повреждений. Измеряется в Па или psi.
- Температурный диапазон: это диапазон температур, в которых насос может безопасно работать. Обычно указывается в градусах Цельсия или Фаренгейта.
Эти технические характеристики помогают выбрать наиболее подходящий центробежный насос для конкретного применения. Насосы различаются по своим характеристикам и могут использоваться в самых разных отраслях, включая строительство, промышленность, сельское хозяйство и домашнее использование.
Устройство центробежного насоса
1. Корпус
Корпус центробежного насоса является его основной оболочкой, которая обеспечивает жидкости направление движения. Он обычно имеет цилиндрическую форму и изготавливается из прочных и непроницаемых материалов, таких как металл или пластик.
2. Рабочее колесо
Рабочее колесо служит для создания центробежной силы и перекачивания жидкости. Оно состоит из нескольких лопастей, расположенных на окружности, и осевого вала, через который передается вращательное движение. Рабочее колесо может быть различных форм и размеров, в зависимости от требований и условий эксплуатации насоса.
3. Привод
Привод – это механизм, который передает вращательное движение от двигателя на рабочее колесо насоса. Он состоит из электродвигателя, редуктора и соединительных элементов, таких как ремни или цепи. Привод обеспечивает необходимую мощность для работы насоса и контролирует его скорость и эффективность.
4. Подшипники
Подшипники служат для поддержки осевого вала насоса и обеспечения его плавного вращения. Они могут быть шариковыми, роликовыми или скольжения. Подшипники должны быть изготовлены из прочных материалов и обладать высокой износостойкостью, чтобы обеспечить долговечность и надежность работы насоса.
5. Уплотнения
Уплотнения служат для предотвращения проникновения и вытекания жидкости из насоса. Они устанавливаются на соединениях между корпусом и валом, а также на местах соприкосновения рабочего колеса с корпусом. Уплотнения могут быть различных типов, включая механические, жидкостные или газовые уплотнения.
6. Трубопроводы
Трубопроводы служат для подачи и отвода жидкости в и из насоса. Они обычно изготавливаются из металла или пластика и имеют соединительные фланцы для простого подключения. Трубопроводы должны обладать достаточной прочностью и герметичностью, чтобы обеспечить надежную работу насоса.
| Компонент | Функция |
|---|---|
| Корпус | Оболочка для направления жидкости |
| Рабочее колесо | Создание центробежной силы и перекачивание жидкости |
| Привод | Передача вращательного движения от двигателя |
| Подшипники | Поддержка осевого вала и плавное вращение |
| Уплотнения | Предотвращение проникновения и вытекания жидкости |
| Трубопроводы | Подача и отвод жидкости |
Принцип работы центробежного насоса
Принцип работы центробежного насоса основан на законе сохранения энергии. Жидкость поступает в насос через входное отверстие, после чего она попадает внутрь вращающегося ротора. Вращение ротора создает центробежную силу, которая направлена от центра наружу.
Центробежная сила действует на жидкость, заставляя ее двигаться в направлении выходного отверстия насоса. Во время движения жидкость попадает в радиальные каналы ротора и приобретает кинетическую энергию. Затем жидкость выталкивается из насоса через выходное отверстие и направляется по трубопроводу в нужное место.
Центробежные насосы широко используются в различных отраслях, таких как промышленность, строительство, сельское хозяйство и водоснабжение. Они способны обрабатывать большие объемы жидкости на высокой скорости и могут работать на длительных промежутках времени без перерыва.
Для эффективной работы центробежного насоса необходимо правильно подобрать его параметры, такие как диаметр ротора, угол наклона радиальных каналов и мощность привода. Это позволяет достичь оптимальной производительности насоса и долговечности его работы.
Виды центробежных насосов
Одноступенчатые насосы
Одноступенчатые центробежные насосы, как следует из их названия, имеют только одну ступень и предназначены для работы с небольшими объемами жидкости. Они обычно применяются в бытовых системах водоснабжения, автономных системах охлаждения и в других аналогичных задачах.
Многоступенчатые насосы
Многоступенчатые центробежные насосы состоят из нескольких ступеней, что позволяет им работать с большими объемами жидкостей и достигать больших давлений. Они широко используются в промышленности для перекачки нефти, газа или воды на большие расстояния.
Помимо одноступенчатых и многоступенчатых насосов, существуют также много других типов центробежных насосов, таких как:
- Радиальные насосы;
- Полуосевые насосы;
- Многоступенчатые насосы с распределением давления;
- Радиально-осевые насосы;
- И другие.
Каждый из этих видов центробежных насосов имеет свои особенности и преимущества, что позволяет использовать их в разных сферах промышленности и бытовой технике. Выбор насоса зависит от конкретных требований и задач, которые нужно выполнить.
Применение центробежных насосов
Центробежные насосы широко применяются в различных отраслях промышленности и быту. Вот некоторые области их применения:
— Водоснабжение: центробежные насосы используются для подачи воды из водоисточников в дома, здания и другие сооружения. Они также применяются для повышения давления в системе водоснабжения.
— Нефтяная и газовая промышленность: центробежные насосы используются для подачи жидкости и газа в нефтяных и газовых скважинах, а также для перекачки нефти и газа через трубопроводы.
— Очистка сточных вод: центробежные насосы применяются для перекачки сточных вод из различных источников, таких как дома, предприятия и городские системы канализации, в очистные сооружения.
— Воздушное охлаждение: центробежные насосы используются для циркуляции охлаждающей жидкости в системах кондиционирования воздуха и промышленных охладителях.
— Пищевая промышленность: центробежные насосы применяются для перекачки и перемешивания различных продуктов в пищевой промышленности, таких как молоко, соки, кетчупы и масла.
— Промышленная химия: центробежные насосы используются для перекачки различных химических веществ в промышленности, таких как кислоты, растворы и сырьевые материалы.
— Обработка стекла: центробежные насосы используются для подачи и охлаждения расплавленного стекла в процессе изготовления стеклянных изделий.
Все эти области применения демонстрируют широкий спектр возможностей и эффективности центробежных насосов в различных отраслях промышленности и быту.
Особенности монтажа и обслуживания центробежных насосов
Центробежные насосы широко используются в различных отраслях промышленности и бытовом секторе, включая системы водоснабжения, отопления, вентиляции, химической промышленности и другие. Данные насосы обладают эффективностью и надежностью, однако требуют правильного монтажа и обслуживания для оптимального функционирования.
Монтаж центробежного насоса
При монтаже центробежного насоса необходимо учитывать следующие особенности:
- Выбор места установки: Насос следует устанавливать на ровной и прочной поверхности, чтобы избежать вибраций. Также обеспечьте достаточное пространство для обслуживания и ремонта насоса.
- Подключение системы: Правильно подключите насос к системе, обеспечив правильное соединение и герметичность. Проверьте, чтобы патрубки и трубопроводы не были изогнутыми или закупоренными, что может привести к снижению производительности насоса.
- Параметры электропитания: Обратите внимание на правильное напряжение и ток электропитания, чтобы предотвратить перегрузку или недостаточное питание насоса.
Обслуживание центробежного насоса
Для обеспечения длительного и надежного функционирования центробежных насосов рекомендуется следующие действия по обслуживанию:
- Регулярная проверка: Периодически проверяйте насос на наличие износа деталей, трещин, утечек и других повреждений. Обратите внимание на состояние подшипников и уплотнений.
- Очистка и смазка: Регулярно очищайте насос от загрязнений, особенно отложений и примесей. Также производите смазку подшипников и уплотнений по рекомендации производителя.
- Ремонт и замена: В случае выявления повреждений или износа деталей произведите их своевременный ремонт или замену. Используйте только оригинальные запчасти и комплектующие.
Соблюдение этих рекомендаций поможет вам максимально продлить срок службы центробежных насосов, поддерживая их работоспособность и эффективность. Помните, что правильное обслуживание имеет огромное значение для безопасности и экономии энергии.
Преимущества и недостатки центробежных насосов
Преимущества центробежных насосов:
1. Высокая эффективность. Центробежные насосы обеспечивают высокую производительность и обеспечивают эффективное перемещение жидкостей или газов.
2. Широкий диапазон применения. Центробежные насосы могут использоваться для перекачки различных жидкостей, таких как вода, нефть, химические растворы и многое другое.
3. Небольшие размеры и компактность. Центробежные насосы компактные, что облегчает их установку и эксплуатацию в различных условиях.
4. Надежность и долговечность. Центробежные насосы обладают простой конструкцией и низким количеством движущихся частей, что повышает их надежность и продолжительность работы.
5. Возможность работы в широком диапазоне рабочих условий. Центробежные насосы могут работать при различных температурах, давлениях и обеспечивать требуемую производительность.
Недостатки центробежных насосов:
1. Высокая стоимость. Центробежные насосы могут быть дорогими в установке и обслуживании, особенно в случае использования специализированных моделей.
2. Низкая эффективность в низких условиях потока. Центробежные насосы работают лучше в условиях высокой вязкости и потока.
3. Возможные проблемы с кавитацией. В случае неправильного выбора насоса или работы в негативных условиях, центробежные насосы могут испытывать проблемы с кавитацией, что может снизить их производительность и надежность.
4. Требуется регулярное обслуживание. Центробежные насосы требуют регулярного обслуживания и проверки для поддержания своей работоспособности и эффективности.
5. Ограничение по давлению. Центробежные насосы могут иметь ограничение по давлению, что может ограничить их применение в определенных сферах.
В целом, несмотря на некоторые недостатки, центробежные насосы являются популярным и широко применимым типом насосов благодаря своей высокой эффективности, надежности и широкому диапазону применения.
Рекомендации по выбору центробежного насоса
1. Определите вид перекачиваемой жидкости
Первым шагом является определение вида жидкости, которую требуется перекачать. Различные жидкости могут иметь различную вязкость, температуру, плотность и содержать агрессивные вещества. Учитывая эти факторы, выберите насос, который сможет безопасно работать с заданными параметрами жидкости.
2. Определите требуемую производительность
Определите необходимую производительность насоса, то есть количество жидкости, которое требуется перекачать за определенный период времени. Важно учесть как максимальную, так и среднюю производительность системы.
3. Учтите величину подъема
Оцените величину подъема жидкости, то есть разницу в высоте между источником и точкой назначения перекачки. Это поможет определить необходимое давление, которое должен обеспечивать насос.
4. Учтите особенности системы
Принимайте во внимание особенности системы, в которую будет встраиваться насос. Размеры, конструкция и доступное пространство могут ограничить выбор насоса. Также необходимо учесть предусмотренную автоматизацию работы насоса.
5. Обратите внимание на энергоэффективность
При выборе насоса учтите его энергоэффективность. Выбирайте насос с эффективным двигателем, чтобы снизить энергопотребление и эксплуатационные расходы в будущем.
6. Обратитесь за консультацией
Если у вас возникают сомнения или сложности при выборе центробежного насоса, обратитесь за консультацией к специалистам. Они помогут вам определить наиболее подходящую модель насоса, учитывая ваши требования и условия эксплуатации.
Следуя данным рекомендациям, вы сможете выбрать насос, который будет идеально работать в вашей системе и обеспечит эффективное перекачивание жидкости.
Вопрос-ответ:
Как работает центробежный насос по схеме?
Чем отличается центробежный насос от других типов насосов?
Какие преимущества имеет центробежный насос по сравнению с другими типами насосов?
Какие типы центробежных насосов существуют?
Где применяются центробежные насосы?
Что такое центробежный насос и как он работает?
Существуют ли различные типы центробежных насосов?
Какую роль играют вихревые и радиальные лопасти в центробежном насосе?
Можно ли использовать центробежный насос для перекачки различных жидкостей?
Какие факторы следует учитывать при выборе центробежного насоса?
Как работает центробежный насос?
Какие основные элементы составляют центробежный насос?
Видео:
Секрет нефтяных качалок!!! Смотреть в 3d добычу нефти насосом из скважины
Куда ставить насос? Подача или обратка?
Обвязка центробежных насосов
-
Насос джамбо — самое мощное оборудование для перекачки жидкостей -
Применение насосов в системах водоснабжения — особенности выбора и преимущества -
Как самостоятельно разобрать и собрать водяной насос — подробная инструкция с фото и пошаговая расписка












