Эффективный ремонт и обслуживание вибрационных насосов для максимальной производительности и долговечности оборудования
Содержание
- В чем заключается ремонт вибрационных насосов?
- Как повысить срок службы вибрационных насосов?
- Неисправности вибрационных насосов: причины и способы устранения
- Как выбрать специалиста по ремонту вибрационных насосов?
- Регулярное техническое обслуживание вибрационных насосов
- Важность использования оригинальных запчастей при ремонте вибрационных насосов
- Преимущества сотрудничества с сервисным центром «Насосы и насосные станции Nasos»
- Советы по эксплуатации вибрационных насосов
- Вопрос-ответ:
- Что такое вибрационные насосы?
- Какие основные проблемы могут возникать при эксплуатации вибрационных насосов?
- Как производится ремонт вибрационных насосов?
- Какие инструменты и материалы чаще всего используются при ремонте вибрационных насосов?
- Какова стоимость ремонта вибрационных насосов?
- Как определить, что вибрационный насос нуждается в ремонте?
- Можно ли самостоятельно отремонтировать вибрационный насос?
- Каковы основные причины поломки вибрационных насосов?
- Каковы этапы ремонта вибрационных насосов?
- Сколько времени может занять ремонт вибрационного насоса?
- Как устроен вибрационный насос? Какие части у него есть?
- Как понять, что вибрационный насос требует ремонта?
- Видео:
Вибрационные насосы являются важным звеном в системах водоснабжения и отопления, применяемых в различных отраслях промышленности. Они обеспечивают перекачивание жидкости с помощью вихревого движения среды, создаваемого специальным ротором. Однако со временем даже такие надежные и эффективные устройства требуют ремонта и технического обслуживания.
Ремонт вибрационных насосов включает в себя ряд процедур, направленных на восстановление и оптимизацию работы устройства. Он может включать в себя замену поврежденных деталей, настройку и смазку подшипников, проверку электромагнитного привода и других важных компонентов.
Для проведения качественного ремонта вибрационных насосов необходимо обратиться к профессионалам, которые обладают соответствующим опытом и специализированным оборудованием. Только такие специалисты смогут быстро и эффективно определить причину неисправности насоса и предложить оптимальное решение проблемы.
Компания «Насосы и насосные станции Nasos» предлагает полный спектр услуг по ремонту вибрационных насосов. Наша команда опытных специалистов готова выполнить любые работы, связанные с восстановлением и обслуживанием насосного оборудования. Мы гарантируем высокое качество выполнения работ, использование оригинальных запчастей и доступные цены.
В чем заключается ремонт вибрационных насосов?
Ремонт вибрационных насосов включает в себя несколько этапов. Первым этапом является диагностика неисправности. Специалисты проводят осмотр и проверку насоса, анализируя его работоспособность и определяя возможные причины неисправности. Затем производится разборка насоса, чтобы обнаружить и устранить неисправные детали.
Вторым этапом ремонта является восстановление неисправных деталей или их замена. В зависимости от обнаруженных проблем, могут быть заменены уплотнения, подшипники, механические устройства и другие детали насоса. Для этого используются специальные инструменты и оборудование, а также применяются технологии, обеспечивающие высокое качество ремонта.
Третий этап ремонта – сборка насоса. После замены или ремонта деталей, насос собирается обратно и проверяется на работоспособность. Чтобы удостовериться в его корректной работе, проводятся испытания насоса с использованием специальных технических средств.
Важным этапом ремонта вибрационных насосов является также их поверка и калибровка. При необходимости производится регулировка параметров работы насоса для обеспечения оптимальной производительности, эффективности и безопасности его функционирования.
Окончательным этапом ремонта является тестирование насоса в рабочих условиях. Это позволяет убедиться в полной исправности и готовности насоса к эксплуатации.
Ремонт вибрационных насосов должен проводиться опытными и квалифицированными специалистами с использованием современного оборудования и технологий. Только тогда можно гарантировать высокое качество ремонта, долговечность работы насоса и безопасность его эксплуатации.
Как повысить срок службы вибрационных насосов?
1. Регулярная проверка и обслуживание
Для поддержания эффективной работы вибрационных насосов необходимо проводить регулярную проверку и обслуживание. Это включает в себя проверку состояния корпуса на предмет трещин и износа, проверку уровня масла и его замену при необходимости, а также очистку фильтров и сеток от загрязнений. Регулярное обслуживание помогает предотвращать поломки и увеличивает срок службы насосов.
2. Контроль вибрации
Вибрация может негативно сказываться на работе вибрационных насосов. Постоянная вибрация может вызвать износ деталей и повредить подшипники. Поэтому важно контролировать уровень вибрации и предпринимать меры для его снижения. Это может включать установку амортизаторов и резиновых подушек, а также правильную установку и выравнивание насосов.
3. Соблюдение правил эксплуатации
Чтобы вибрационные насосы дольше служили, необходимо соблюдать правила эксплуатации, указанные в инструкции по использованию. Это может включать в себя такие меры, как правильное подключение насоса к электропитанию, контроль за рабочим давлением, регулярное смазывание подшипников и замена изношенных деталей. Соблюдение правил эксплуатации поможет предотвратить неисправности и повысить срок службы насосов.
Соблюдение вышеперечисленных рекомендаций поможет вам повысить срок службы вибрационных насосов и сэкономить на ремонте и замене оборудования. Запомните, что правильное обслуживание и эксплуатация насосов – залог их эффективной работы и долгого срока службы.
Неисправности вибрационных насосов: причины и способы устранения
Вибрационные насосы широко применяются в различных отраслях, где требуется перекачка жидкостей. Они работают на основе вибрационного движения и обеспечивают эффективную работу системы. Однако, как и любое оборудование, вибрационные насосы могут столкнуться с неисправностями, которые могут негативно повлиять на их работу и эффективность.
Причины возникновения неисправностей в вибрационных насосах:
- Износ или поломка подшипников. Вибрационные насосы работают при высоких нагрузках, поэтому подшипники часто являются слабым звеном. При их износе или поломке возникают вибрации и шум. Следует регулярно проверять состояние подшипников и вовремя их заменять.
- Повреждение ротора насоса. Ротор вибрационного насоса является одной из ключевых деталей, от которой зависит его работоспособность. Повреждение ротора может привести к нарушению баланса насоса и появлению вибраций. В случае повреждения ротора необходимо заменить его на новый.
- Засорение фильтров и трубопроводов. Засорение фильтров и трубопроводов может привести к снижению производительности насоса и повышенной нагрузке на его работу. В результате могут возникнуть вибрации и шум. Регулярная очистка фильтров и проверка трубопроводов позволит избежать данной проблемы.
Способы устранения неисправностей в вибрационных насосах:
- Замена изношенных или сломанных подшипников. При обнаружении неисправности подшипников необходимо произвести их замену на новые. В случае работы насоса в агрессивной среде следует выбирать специальные подшипники, устойчивые к химическим воздействиям.
- Замена поврежденного ротора. В случае повреждения ротора необходимо его заменить на новый, соответствующий модели насоса. Не рекомендуется пользоваться насосом с поврежденным ротором, так как это может привести к дальнейшему ухудшению его работоспособности и повышенному износу других деталей.
- Очистка фильтров и трубопроводов. Регулярная очистка фильтров поможет избежать их засорения, а проверка трубопроводов позволит своевременно выявить возможные утечки или повреждения, которые могут привести к нарушению работы насоса.
Помните, что регулярное техническое обслуживание и проверка состояния вибрационных насосов помогут предотвратить возникновение неисправностей и обеспечить их эффективную работу на протяжении длительного времени.
Как выбрать специалиста по ремонту вибрационных насосов?
1. Опыт и квалификация
Первый и, пожалуй, самый важный критерий при выборе специалиста — это его опыт и квалификация в области ремонта вибрационных насосов. Нашими клиентами могут быть как предприятия, так и частные лица. Поэтому, перед тем как доверить свой насос мастеру, стоит убедиться в его опыте работы с именно такой моделью насоса, какая у вас.
Квалифицированный специалист знает особенности строения и работы вибрационных насосов, а также умеет быстро и точно определить причину поломки и устранить ее. Это гарантирует надежность и долговечность ремонта, а также экономит время и деньги владельца насоса.
2. Наличие необходимого оборудования
Для качественного и эффективного ремонта вибрационных насосов необходимо наличие специального оборудования. Проверьте, есть ли у выбранного специалиста все необходимые инструменты и приборы для диагностики и ремонта насоса. От этого зависит качество и скорость работы, а также возможность предоставления гарантии на выполненные работы.
Также обратите внимание на наличие запасных частей и комплектующих для вибрационных насосов у специалиста. Наличие необходимых деталей упрощает и ускоряет процесс ремонта и позволяет избежать простоев и лишних затрат на доставку комплектующих.
Выбор специалиста по ремонту вибрационных насосов – это ответственный и важный шаг в обеспечении надежности и долговечности вашего вибрационного насоса. Уделите время и внимание поиску опытного и квалифицированного мастера, чтобы быть уверенными в качестве предоставляемых услуг и результате ремонта.
Регулярное техническое обслуживание вибрационных насосов
Регулярное техническое обслуживание вибрационных насосов играет важную роль в поддержании их надежной работы и продлении срока службы. Такое обслуживание позволяет выявлять и устранять возможные поломки и дефекты на ранних стадиях, предотвращая серьезные проблемы и повышая эффективность работы насоса.
Вот основные этапы регулярного технического обслуживания вибрационных насосов:
- Визуальный осмотр: Регулярно проверяйте наличие видимых повреждений, трещин, коррозии или других признаков износа на поверхности насоса. Обращайте внимание на утечку жидкости и состояние уплотнений.
- Испытание насоса на запуск и остановку: Регулярно проводите проверку запуска и остановки вибрационного насоса для выявления возможных проблем с электрическими компонентами или механизмами управления.
- Проверка эффективности насоса: Измеряйте производительность насоса, проверяя его способность обеспечивать требуемое давление и пропускную способность жидкости. Если производительность насоса снижается, возможно, требуется регулировка или замена деталей.
- Смазка и очистка: Тщательно очищайте насос от загрязнений и заменяйте масло или смазку при необходимости. Убедитесь, что все детали насоса должным образом смазаны, чтобы предотвратить их износ и трение.
- Проверка системы охлаждения: Осмотрите систему охлаждения насоса, чтобы убедиться, что она работает должным образом и предотвращает перегрев насоса.
- Регулярный анализ вибраций: Используйте специальное оборудование для анализа вибраций насоса, чтобы выявить возможные проблемы с подшипниками, роторами или другими деталями, вызывающими вибрации и шум.
- Тестирование безопасности: Периодически проверяйте работу системы безопасности насоса, таких как предохранительных клапанов или устройств аварийной остановки.
Регулярное техническое обслуживание вибрационных насосов является неотъемлемой частью их эксплуатации. Оно позволяет предотвращать поломки, повышать эффективность работы насоса и продлевать его срок службы. Не забывайте следовать рекомендациям производителя и обращаться к квалифицированным специалистам для проведения технического обслуживания.
Важность использования оригинальных запчастей при ремонте вибрационных насосов
Использование оригинальных запчастей при ремонте вибрационных насосов является неотъемлемой частью процесса, поскольку только они могут гарантировать надежность и долговечность работы насоса после ремонта.
Оригинальные запчасти, разработанные и произведенные производителями насосов, отличаются от пиратских и нелицензионных запчастей следующими особенностями:
- Качество. Оригинальные запчасти проходят строгий контроль качества и соответствуют высоким стандартам производителя, что обеспечивает безопасность и надежность работающего насоса.
- Совместимость. Оригинальные запчасти разработаны специально для конкретной модели и марки насоса. Их использование позволяет избежать ошибок при монтаже и обеспечить точную совместимость с остальными деталями и механизмами насоса.
- Гарантия. При использовании оригинальных запчастей производитель может предоставить гарантию на выполненные работы и замененные детали. Это является дополнительным подтверждением качества и надежности оригинальных запчастей.
Важно понимать, что неправильно подобранные и некачественные запчасти могут привести к неполадкам в работе вибрационного насоса и еще более серьезным проблемам. Также, использование неоригинальных запчастей может снизить срок службы насоса и повлиять на его производительность.
Поэтому, при ремонте вибрационных насосов рекомендуется обращаться только к проверенным поставщикам оригинальных запчастей. Это поможет избежать проблем и обеспечит долговечность и надежность работы вашего насоса.
Преимущества сотрудничества с сервисным центром «Насосы и насосные станции Nasos»
Сервисный центр «Насосы и насосные станции Nasos» предлагает множество преимуществ, которые делают наше сотрудничество выгодным и эффективным.
Во-первых, мы являемся экспертами в ремонте и обслуживании вибрационных насосов. Наша команда специалистов имеет богатый опыт работы с такими устройствами и знание их особенностей. Это позволяет нам выполнять работы любой сложности качественно и в кратчайшие сроки.
Во-вторых, мы используем современные технологии и инструменты при ремонте насосов. Это гарантирует высокий уровень точности и точность работы, а также повышает надежность насосов после ремонта.
В-третьих, мы предлагаем конкурентные цены на наши услуги. Мы понимаем важность экономии для наших клиентов, поэтому стараемся предложить им оптимальные условия сотрудничества.
В-четвертых, у нас есть широкий ассортимент запчастей и комплектующих для вибрационных насосов. Благодаря этому мы можем оперативно заменить неисправные детали и обеспечить бесперебойную работу насосов после ремонта.
И наконец, мы гарантируем высокое качество выполняемых работ и долговечность ремонтированных насосов. Мы стремимся к удовлетворению потребностей каждого клиента и долговременным отношениям с ними.
В итоге, сотрудничество с нашим сервисным центром позволит вам получить высококачественный ремонт вибрационных насосов по доступной цене. Мы готовы помочь вам в любое время и гарантировать результаты, которые превзойдут ваши ожидания.
Советы по эксплуатации вибрационных насосов
Эксплуатация вибрационных насосов требует особого внимания и знаний, чтобы гарантировать их надежность и долгий срок службы. В этом разделе мы предлагаем несколько полезных советов по эксплуатации вибрационных насосов.
1. Регулярная проверка на состояние
Периодически осматривайте вибрационные насосы на предмет видимых повреждений, трещин или износа деталей. Используйте инструменты для проверки вибрации, чтобы убедиться, что насос работает в пределах нормальных параметров.
2. Поддерживайте оптимальные условия работы
Соблюдайте рекомендации по установке вибрационного насоса, чтобы обеспечить правильную работу. Регулярно проверяйте и чистите фильтры, чтобы предотвратить попадание мусора и грязи в систему. Кроме того, следите за правильным уровнем и качеством смазочного материала.
3. Учите персонал правильной эксплуатации
Обучите свой персонал правильному использованию вибрационных насосов. Распространите инструкции по эксплуатации и безопасности, чтобы они могли быть использованы в случае необходимости. Внимательно следите за тем, чтобы персонал соблюдал все указания и процедуры эксплуатации.
4. Плановое техническое обслуживание
Следуйте регулярному графику технического обслуживания вибрационных насосов. Заменяйте изношенные или поврежденные детали, проверяйте и очищайте систему, а также проверяйте эффективность работы насоса. Проводите испытания, чтобы убедиться в правильности работы.
- Проверяйте и контролируйте уровень вибрации, температуру и давление насоса.
- Постоянно следите за рабочими параметрами насоса и соблюдайте все рекомендации производителя.
- Используйте качественные смазочные материалы и расходники для обслуживания.
Соблюдение этих советов поможет вам поддерживать вибрационные насосы в хорошем состоянии и предотвращать непредвиденные поломки. Регулярное обслуживание и правильная эксплуатация существенно увеличат срок службы вашего насоса.
Вопрос-ответ:
Что такое вибрационные насосы?
Какие основные проблемы могут возникать при эксплуатации вибрационных насосов?
Как производится ремонт вибрационных насосов?
Какие инструменты и материалы чаще всего используются при ремонте вибрационных насосов?
Какова стоимость ремонта вибрационных насосов?
Как определить, что вибрационный насос нуждается в ремонте?
Можно ли самостоятельно отремонтировать вибрационный насос?
Каковы основные причины поломки вибрационных насосов?
Каковы этапы ремонта вибрационных насосов?
Сколько времени может занять ремонт вибрационного насоса?
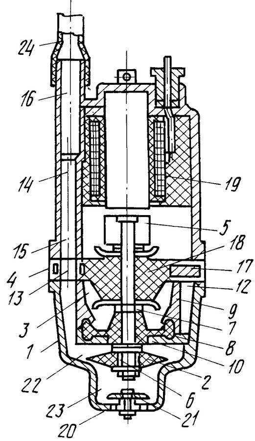
Как устроен вибрационный насос? Какие части у него есть?
Как понять, что вибрационный насос требует ремонта?
Видео:
Ремонт вибрационных насосов МАЛЫШ
Насос Ручеек-1. Ремонт насоса. РЕМ. КОМПЛЕКТ.
-
Насос джамбо — самое мощное оборудование для перекачки жидкостей -
Применение насосов в системах водоснабжения — особенности выбора и преимущества -
Как самостоятельно разобрать и собрать водяной насос — подробная инструкция с фото и пошаговая расписка










