Своими руками восстановите работу насоса типа «малыш»
Содержание
- Как самостоятельно отремонтировать насос «малыш»
- Подготовка к ремонту
- Диагностика неисправностей насоса
- Замена уплотнительных колец
- Очистка и замена фильтров
- Проверка и замена электродвигателя
- Регулировка давления
- Замена ремкомплекта насоса
- Завершение ремонта и проверка работоспособности
- Вопрос-ответ:
- Какую модель насоса можно отремонтировать своими руками?
- Сколько времени занимает ремонт насоса малыш?
- Что нужно для ремонта насоса малыш?
- Какие причины поломки насоса малыш чаще всего встречаются?
- Может ли ремонт насоса малыш сэкономить мне деньги?
- Какой инструмент понадобится для ремонта насоса «Малыш»?
- Какой износ насоса «Малыш» может требовать ремонта?
- Какой порядок действий при ремонте насоса «Малыш»?
- Можно ли самостоятельно заменить уплотнительные кольца насоса «Малыш»?
- Сколько времени занимает ремонт насоса «Малыш»?
- Что нужно для ремонта насоса «Малыш»?
- Видео:
Своими руками ремонт насоса малыш (Малыш 8) – это совершенно осуществимая задача даже для тех, кто не является профессионалом. Насос Малыш 8 от компании Nasos является незаменимым помощником в быту и сельском хозяйстве, обеспечивая подачу и перекачку воды в труднодоступных местах. Имея компактные размеры и простую конструкцию, Малыш 8 может быть надежно отремонтирован своими руками. В данной статье мы рассмотрим основные этапы ремонта насоса Малыш 8 и дадим полезные рекомендации для выполнения этой задачи.
Перед началом ремонта необходимо правильно диагностировать поломку насоса Малыш 8. В большинстве случаев, основной причиной неисправности является износ уплотнительных колец. Для замены уплотнительных колец, необходимо снять корпус непосредственно с нагнетательного трубопровода. Для этого следует ослабить гайку и снять ее вместе с шлицами, на которых она находится. После снятия корпуса аккуратно извлеките старые уплотнительные кольца, и установите новые на их место, следуя инструкции производителя.
Ремонт насоса Малыш 8 также может потребовать замены или очистки фильтров. Фильтры предотвращают попадание мусора и посторонних предметов в насос, что может вызвать его поломку. Периодически проверяйте фильтры на загрязнение и, в случае необходимости, заменяйте или тщательно чистите их. Для очистки фильтров снимите их с корпуса насоса, промойте под проточной водой и аккуратно просушите перед установкой обратно.
Помимо замены уплотнительных колец и чистки фильтров, также возможно потребуется очищение и смазка двигателя насоса Малыш 8. Для этого раскрутите двигатель и аккуратно снимите его с корпуса. Используя мягкую щетку, удалите пыль и посторонние частицы с поверхности двигателя и его деталей. Затем нанесите небольшое количество моторного масла на основные движущиеся части и аккуратно смажьте их. При установке двигателя обратно на корпус, убедитесь, что он фиксируется надежно и без люфта.
Как самостоятельно отремонтировать насос «малыш»
Шаг 1: Проверьте электрическое соединение
Первым делом, проверьте, подключен ли насос к электрической сети. Убедитесь, что вы включили насос и что он получает достаточное электрическое напряжение. Если насос не запускается, возможно, необходимо заменить электрический шнур или выявить и устранить проблему с электрической проводкой.
Шаг 2: Проверьте фильтр и входной клапан
Проверьте состояние фильтра и входного клапана насоса. Очистите фильтр от нагромождения грязи и мусора. Если фильтр забился, это может вызвать проблемы с подачей воды в насос и его работой. Также проверьте состояние входного клапана. Если он поврежден или забился, замените его.
Шаг 3: Проверьте наличие утечек и повреждений
Тщательно осмотрите насос на наличие трещин, утечек или других видимых повреждений. Если обнаружены повреждения, замените поврежденные детали или обратитесь к профессионалу для их ремонта. Утечка может привести к снижению эффективности работы и повреждению насоса, поэтому следует принять меры по исправлению проблемы как можно скорее.
Шаг 4: Очистите насос от накипи
Некоторые насосы «малыш» могут быть подвержены накипи или отложениям внутри системы. Это может вызвать снижение производительности и повреждение насосной системы. Очистите насос от накипи, используя специальные средства или консультируйтесь с профессионалом.
Следуя этим простым шагам, вы можете самостоятельно отремонтировать насос «малыш» и продлить его работоспособность. Однако, при сложных повреждениях или отсутствии навыков и знаний, рекомендуется обратиться к специалистам для профессионального ремонта и обслуживания насоса.
Подготовка к ремонту
Перед тем как приступить к ремонту насоса «Малыш», необходимо хорошо подготовиться. Это позволит выполнить работу качественно и безопасно.
1. Сборка необходимых инструментов
Перед ремонтом насоса важно собрать все необходимые инструменты и материалы. Вам понадобятся:
- Отвертки разных размеров
- Торцевые ключи для работы с гайками и болтами
- Клещи для снятия и установки крепежных элементов
- Прокладки и уплотнители для замены старых и поврежденных деталей
- Смазка для обеспечения плавного хода механизма
- Чистящий спрей для очистки поверхностей
Убедитесь, что все инструменты находятся в исправном состоянии и подготовьте рабочее место.
2. Подготовка насоса
Перед тем как начать ремонт, отключите насос от источника питания и вытащите его из воды. Очистите насос от грязи и пыли, используя чистящий спрей и мягкую тряпку. Далее проверьте наличие повреждений и износа деталей.
Если вы заметили какие-либо повреждения, отметьте их для последующей замены. Также обратите внимание на состояние уплотнений и прокладок. Если они повреждены или деформированы, замените их.
Важно: При работе с насосом соблюдайте меры безопасности, изолируйте насос от электропитания и надевайте защитные перчатки, очки и одежду.
Диагностика неисправностей насоса
Перед началом ремонта насоса «Малыш» важно правильно определить его неисправность. Для этого необходимо провести диагностику системы насоса, которая позволит выявить причину возникновения проблемы.
1. Проверка электропитания
Первым шагом следует проверить электрическое питание насоса. Убедитесь, что насос подключен к источнику питания и что проводка в нормальном состоянии. Проверьте, есть ли напряжение на клеммах насоса. Если напряжение отсутствует, возможно, проблема связана с проводкой или с источником питания.
2. Проблемы с насосом
Если электропитание в порядке, следует обратить внимание на сам насос. Проверьте, нет ли засоров в механизме или насосной части. Очистите насос от грязи или посторонних предметов, которые могут препятствовать его работе.
Также стоит проверить, есть ли утечки воды или проблемы с уплотнениями насоса. Местами утечки могут указывать на неисправности или требующие замены детали.
3. Проверка фильтров
Неисправности насоса могут быть вызваны загрязнением фильтров. Проверьте состояние фильтров и очистите их при необходимости. Убедитесь, что фильтры правильно установлены и не повреждены.
4. Исправление механических поломок
Если все вышеперечисленные проверки не помогли выявить причину неисправности насоса, возможно, в нем произошла механическая поломка. В этом случае рекомендуется обратиться к специалисту или провести полную разборку насоса для более тщательной диагностики. При обнаружении поломок замените поврежденные детали.
Помните, что правильная диагностика неисправностей является основой успешного ремонта насоса «Малыш». Если у вас возникли сомнения или непонятные проблемы, лучше обратиться за помощью к профессионалам.
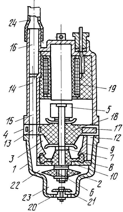
Замена уплотнительных колец
Необходимые инструменты:
- Отвертка
- Ключи
- Монтажная паста
- Новые уплотнительные кольца
Шаги замены уплотнительных колец:
1. Отключите насос от электропитания и расположите его на стабильной поверхности.
2. С помощью отвертки удалите крышку насоса, расположенную сверху.
| № | Шаг | Описание |
|---|---|---|
| 3 | Выньте старые уплотнительные колечки | С помощью отвертки аккуратно извлеките старые уплотнительные колечки из насоса. Убедитесь, что вы не повредили другие части насоса в процессе. |
| 4 | Почистите и смажьте | Очистите место, где находились уплотнительные колечки, от остатков старых уплотнений. Затем нанесите небольшое количество монтажной пасты на новые колечки. |
| 5 | Установите новые уплотнительные колечки | Осторожно установите новые уплотнительные колечки в соответствующие места. Убедитесь, что они плотно входят в насос и не оказывают излишнего сопротивления. |
| 6 | Закрепите крышку | Прикрепите крышку насоса обратно на своё место, убедившись, что она закреплена надёжно и плотно. |
| 7 | Подключите насос к электропитанию | Подключите насос обратно к электропитанию и проверьте его работу. Убедитесь, что нет утечек и насос функционирует должным образом. |
Следуя этим простым шагам, вы сможете заменить уплотнительные колечки насоса «Малыш» своими руками и вернуть его к работе. Если вы не уверены в своих навыках или обнаружите другие проблемы, рекомендуется обратиться за консультацией к специалисту.
Очистка и замена фильтров
Перед началом очистки и замены фильтров необходимо отключить насос от источника питания и сливать воду из системы насоса. Затем можно приступать к самой процедуре:
- Фильтр погружного насоса: снимите фильтр с насоса, аккуратно удалите содержимое и промойте фильтр под проточной водой. Если фильтр не может быть полностью очищен, рекомендуется его заменить новым. После этого установите фильтр обратно на насос.
- Фильтр входного клапана: найдите входной клапан в системе насоса и обнаружите фильтр, который надежно закреплен в нем. Отсоедините фильтр от входного клапана, промойте его под проточной водой и установите обратно.
- Фильтр выходного клапана: аналогично, найдите фильтр выходного клапана насоса. Отсоедините его от клапана, очистите и промойте. После этого снова установите фильтр на свое место.
Несмотря на то, что очистка фильтров является регулярной процедурой обслуживания насоса «Малыш», рекомендуется вносить в плановое обслуживание проверку состояния фильтров и их замену при необходимости.
Помните, что неправильное обращение с фильтрами и их непрофессиональный ремонт могут привести к серьезным поломкам насоса, поэтому в случае сомнений лучше обратиться к профессионалам или справочной документации.
Проверка и замена электродвигателя
Проверка электродвигателя
Перед началом проверки электродвигателя необходимо отключить насос от источника питания и убедиться в отсутствии напряжения. Для проверки электродвигателя используйте мультиметр, настроенный в режиме измерения сопротивления.
1. Проверьте обмотки электродвигателя на наличие обрывов или коротких замыканий. Для этого снимите защитный кожух и отсоедините провода от клемм электродвигателя. Подключите мультиметр к клеммам электродвигателя: один щуп – к одной клемме, другой щуп – к другой клемме. Если мультиметр показывает бесконечное значение сопротивления или значение, близкое к нулю, это означает, что обмотки электродвигателя неисправны и его необходимо заменить.
2. Проверьте коллектор электродвигателя на наличие деформаций, трещин или иных дефектов. Неисправности коллектора могут привести к неправильному вращению ротора или его блокировке. Для проверки используйте осциллограф или мультиметр, настроенный в режиме измерения напряжения на постоянном токе. Подключите один щуп к основному контакту коллектора, а другой щуп – к какому-либо из контактов щеток. Проверьте наличие постоянного напряжения. Если напряжение не изменяется при вращении ротора, это указывает на неисправность коллектора, требующую его замены.
Замена электродвигателя
Если проверка электродвигателя показала его неисправность, необходимо выполнить его замену. Для этого необходимо:
1. Подготовить инструменты и новый электродвигатель. Убедитесь, что новый электродвигатель соответствует параметрам старого и имеет необходимую мощность и частоту вращения.
2. Отключить насос от источника питания. Убедитесь, что напряжение отсутствует, отключите провода от клемм электродвигателя.
3. Снять старый электродвигатель. Ослабьте крепления, удерживающие электродвигатель на месте, и снимите его с насоса.
4. Установить новый электродвигатель. Поставьте новый электродвигатель на место и закрепите его с помощью крепежных элементов. Убедитесь, что он надежно закреплен и не имеет никакого люфта.
5. Подключить провода. Подключите провода к соответствующим клеммам электродвигателя, убедившись в правильности подключения.
6. Проверить работу. Подключите насос к источнику питания и проверьте его работу с помощью переключателя или пульта управления. Убедитесь, что насос запускается и работает корректно.
После замены электродвигателя рекомендуется провести тестовый запуск и проверить работу насоса в течение некоторого времени, чтобы убедиться в его надежности и эффективности.
Регулировка давления
Для начала необходимо определить требуемое давление в системе. Это можно сделать с помощью манометра, подключив его к системе подачи воды. При этом следует учесть особенности вашего объекта и специфику использования насоса.
После определения требуемого давления можно приступить к регулировке насоса. Для этого часто используют специальный регулятор давления или регулировочный винт, которые находятся на корпусе насоса или на его магистрали.
Сначала следует ослабить гайку фиксации регулятора давления или регулировочного винта. Затем можно начать вращать регулятор или винт, плавно увеличивая или уменьшая давление. Внимательно следите за манометром и отслеживайте изменения давления.
При достижении нужного давления затяните гайку фиксации регулятора или винта, чтобы закрепить установленное значение. Проверьте работу насоса, убедитесь, что подача воды стабильна и соответствует требованиям.
Важно помнить, что неправильная регулировка давления может привести к неполадкам в работе насоса или ослаблению его производительности. Поэтому следует тщательно провести проверку после каждой регулировки и при необходимости вносить коррективы.
Теперь вы знаете, как регулировать давление насоса «Малыш» своими руками. При соблюдении всех рекомендаций и технических норм, насос будет работать надежно и обеспечивать постоянную подачу воды в вашей системе.
Замена ремкомплекта насоса
Если ваш насос Малыш перестал работать корректно, то одной из возможных причин может быть износ резиновых уплотнений и манжет внутри насоса. В этом случае необходимо заменить ремкомплект насоса.
Перед началом замены ремкомплекта необходимо отключить насос от источника питания и выключить водоснабжение. Затем следует опустошить насос от остатков воды.
Для замены ремкомплекта необходимо разобрать насос. Осмотрите насос, обратите внимание на то, где насос имеет лейбл и весь необходимый текст. Найдите мерные отметки, отметьте его на блоке насоса и приложите отметку со всей информацией в комментариях к материалам на нашем сайте. Проехавшись по всем границам блока отметкой и присоединившись к нему в материалах, получите материал на оригинальной бластер у нас.
Затем, с помощью инструментов, откройте насос, аккуратно удаляя все фиксирующие детали. Найдите ремкомплект, который вам подходит и убедитесь, что он содержит все необходимые детали.
Проверьте состояние уплотнений и манжет в насосе. Если они изношены или повреждены, замените их новыми, используя детали из ремкомплекта.
После замены уплотнений и манжет, аккуратно соберите насос, следуя указаниям в инструкции или руководству пользователя. Убедитесь, что все детали правильно установлены и закреплены.
После сборки насоса, подключите его к источнику питания и водоснабжению. Включите насос и проверьте его работу. Если все сделано правильно, насос должен работать без сбоев и утечек.
Теперь вы знаете, как заменить ремкомплект насоса Малыш своими руками. Этот процесс относительно простой и не требует специальных навыков. В случае затруднений или отсутствия опыта рекомендуется обратиться за помощью к специалистам.
Завершение ремонта и проверка работоспособности
После того как вы произвели все необходимые ремонтные работы насоса «Малыш», вам следует завершить процесс и проверить его работоспособность.
Перед тем как приступить к проверке, убедитесь, что все детали и компоненты насоса правильно установлены и закреплены. Убедитесь также, что все соединения и прокладки плотно прилегают и не имеют видимых повреждений.
Далее, для проверки работоспособности насоса, выполните следующие шаги:
Шаг 1: Подключение насоса к источнику питания
Соедините насос с источником питания, как это указано в инструкции по эксплуатации. Убедитесь, что подключение проведено правильно и надежно.
Шаг 2: Запуск насоса и проверка работы
После подключения насоса, включите его и обратите внимание на следующее:
| Операция | Ожидаемый результат |
|---|---|
| Включение питания | Насос должен начать работать без задержек и шумов |
| Подача воды | Вода должна вытекать из насоса без проблем и с должным давлением |
| Выключение насоса | Насос должен останавливаться сразу после выключения питания |
Если насос прошел все указанные тесты успешно и соответствует ожиданиям, то вы успешно завершили ремонт и можно считать его готовым к использованию.
Однако, если у вас возникли какие-либо проблемы или насос не работает должным образом, рекомендуется обратиться за помощью к специалисту или производителю насоса для дальнейшего анализа и решения проблемы.
Вопрос-ответ:
Какую модель насоса можно отремонтировать своими руками?
Сколько времени занимает ремонт насоса малыш?
Что нужно для ремонта насоса малыш?
Какие причины поломки насоса малыш чаще всего встречаются?
Может ли ремонт насоса малыш сэкономить мне деньги?
Какой инструмент понадобится для ремонта насоса «Малыш»?
Какой износ насоса «Малыш» может требовать ремонта?
Какой порядок действий при ремонте насоса «Малыш»?
Можно ли самостоятельно заменить уплотнительные кольца насоса «Малыш»?
Сколько времени занимает ремонт насоса «Малыш»?
Что нужно для ремонта насоса «Малыш»?
Видео:
Ремонт вибрационного насоса
Ремонт насоса ручеек видео
Ремонт вибрационного насоса "Ручеек"
-
Насос джамбо — самое мощное оборудование для перекачки жидкостей -
Применение насосов в системах водоснабжения — особенности выбора и преимущества -
Как самостоятельно разобрать и собрать водяной насос — подробная инструкция с фото и пошаговая расписка










