Устройство гидравлического ручного насоса — принцип работы, состав и особенности
Содержание
- Принцип работы гидравлического ручного насоса
- Инжекторный механизм и создание давления
- Используемые материалы и детали насоса
- Преимущества гидравлического ручного насоса перед другими видами насосов
- Области применения гидравлического ручного насоса
- Технические характеристики гидравлического ручного насоса
- Уход и техническое обслуживание гидравлического ручного насоса
- Инструкция по эксплуатации гидравлического ручного насоса
- Варианты моделей гидравлического ручного насоса
- Вопрос-ответ:
- Как работает гидравлический ручной насос?
- Какие преимущества у гидравлического ручного насоса?
- Где используется гидравлический ручной насос?
- Какую силу можно получить с помощью гидравлического ручного насоса?
- Как поддерживать и обслуживать гидравлический ручной насос?
- Как работает гидравлический ручной насос?
- Какие материалы используются для изготовления гидравлического ручного насоса?
- Каким образом можно повысить производительность гидравлического ручного насоса?
- Какие основные преимущества имеет гидравлический ручной насос перед другими типами насосов?
- Какую роль играет клапан в гидравлическом ручном насосе?
- Как устроен гидравлический ручной насос?
- Видео:
Гидравлический ручной насос – это неотъемлемая часть многих промышленных отраслей и бытовых сфер. Он предназначен для перекачивания жидкостей и обладает простым, но очень эффективным устройством. Главными преимуществами гидравлического ручного насоса являются его надежность, компактность и простота в использовании. Он позволяет производить качественную и глубокую перекачку жидкостей без лишних усилий.
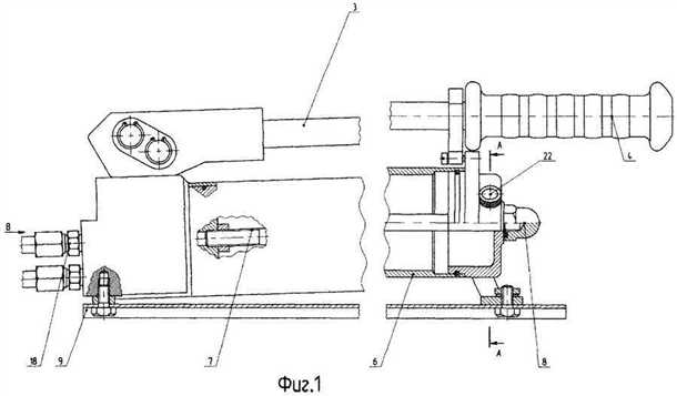
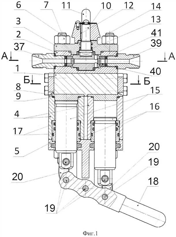
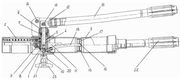
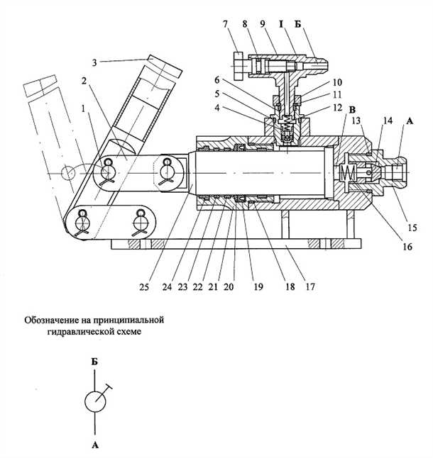
Устройство гидравлического ручного насоса состоит из нескольких основных компонентов. Одним из них является основное тело, которое может быть выполнено из различных материалов, например, из чугуна или нержавеющей стали. Внутри основного тела насоса находится поршневой механизм, который ответственен за сжатие и перемещение жидкости. Важной частью гидравлического насоса является также клапанная система, которая контролирует направление жидкости и позволяет обеспечивать приток и отток жидкости при работе насоса.
Использование гидравлического ручного насоса довольно просто: вначале, нужно подключить насос к источнику сжимаемой жидкости, затем приступить к движению рукоятки ручного насоса. При этом, насос создает давление, которое приводит к перемещению жидкости в нужном направлении. Гидравлический насос может использоваться для подачи воды в бытовую систему, для перекачивания топлива, а также во многих других промышленных сферах. Его простое устройство позволяет использовать его в различных условиях и обеспечивает надежную работу на сравнительно длительные периоды времени.
Принцип работы гидравлического ручного насоса
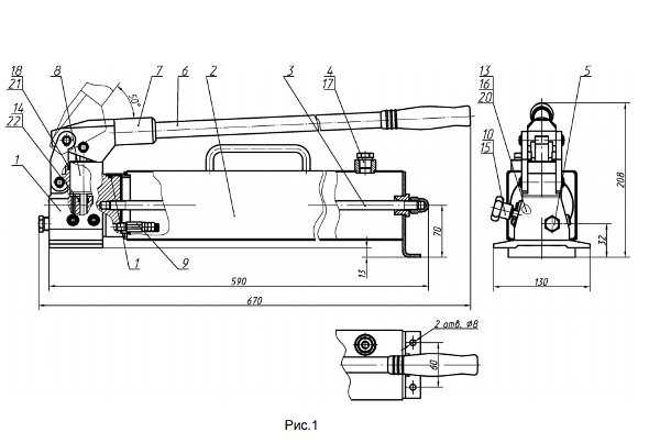
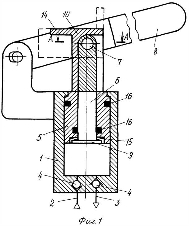
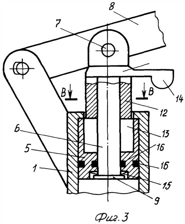
Принцип работы гидравлического ручного насоса основан на законе Паскаля о переходе давления в несжимаемой жидкости. Насос состоит из цилиндра, поршня, клапанов и рукоятки. Когда рукоятка насоса поднимается, поршень внутри цилиндра движется вниз, создавая разрежение и подкачивая жидкость из резервуара через входной клапан. Затем рукоятка насоса опускается, и поршень движется вверх, выдавливая жидкость через выходной клапан в требуемую систему или устройство.
Рабочий принцип основан на изменении объема цилиндра. Под воздействием механической силы, создаваемой рукояткой, поршень движется вверх и вниз внутри цилиндра. Результатом этого движения является изменение объема свободного пространства в цилиндре, что создает разницу давления между входным и выходным отверстиями насоса. Простыми словами, при подъеме рукоятки создается низкое давление, которое притягивает жидкость из резервуара внутрь насоса, а при опускании рукоятки создается высокое давление, которое выдавливает жидкость из насоса во внешнюю систему.
Преимущества гидравлического ручного насоса
Гидравлические ручные насосы обладают рядом преимуществ, которые делают их популярными среди пользователей:
- Простота использования и обслуживания.
- Высокая надежность и долговечность.
- Возможность создавать большое давление.
- Широкий спектр применения в различных отраслях.
- Мобильность и портативность.
В итоге, гидравлический ручной насос является надежным и эффективным устройством, которое находит применение во многих областях. Он обеспечивает надежное создание давления в жидкости, что позволяет использовать его для перекачки, подачи или управления жидкостью в различных системах и механизмах.
Инжекторный механизм и создание давления
В гидравлическом ручном насосе, инжекторный механизм играет ключевую роль в создании давления, необходимого для работы системы. Этот механизм состоит из нескольких ключевых компонентов, включая поршень, стержень и клапан. Эти компоненты работают совместно, чтобы создать и поддерживать давление в системе.
Когда ручка насоса поднимается, поршень движется вверх, что приводит к созданию негативного давления в цилиндре насоса. Это открывает клапан, который разрешает вход воды или другой рабочей жидкости внутрь цилиндра. Когда ручка насоса понижается, поршень движется вниз, что увеличивает давление в цилиндре.
Стержень, который соединяет поршень с ручкой насоса, играет важную роль в передаче движения от руки пользователя к поршню. Он должен быть достаточно прочным, чтобы выдерживать силу, применяемую при покачивании ручкой насоса.
Клапан, расположенный внутри насоса, контролирует направление потока жидкости и предотвращает обратное движение. Он открывается при негативном давлении в цилиндре, позволяя рабочей жидкости войти в насос, и закрывается при положительном давлении, удерживая жидкость в системе.
Важность инжекторного механизма
Инжекторный механизм является сердцем гидравлического ручного насоса и его правильное функционирование критически важно для достижения нужного давления в системе. Если инжекторный механизм имеет неисправности или не соответствует требованиям, насос может работать неэффективно или вовсе не работать.
Поэтому регулярное обслуживание и проверка инжекторного механизма необходимы для поддержания его работоспособности и эффективности работы системы. Также важно правильно собирать и устанавливать инжекторный механизм, чтобы исключить возможные утечки и обеспечить безопасность пользования насосом.
Корректное использование и обслуживание инжекторного механизма позволяют гидравлическому ручному насосу создавать нужное давление и обеспечивать надёжную работу системы.
Используемые материалы и детали насоса
Гидравлический ручной насос состоит из нескольких ключевых компонентов, изготовленных из различных материалов, обеспечивающих надежность и долговечность работы насоса.
Основными материалами, используемыми при изготовлении насоса, являются:
- Стальной корпус, который защищает внутренние детали от повреждений и обеспечивает прочность насоса;
- Пластиковые детали, такие как ручка насоса и крышка, которые обеспечивают удобство использования и защиту внутренних компонентов;
- Резиновый уплотнительный элемент, который обеспечивает герметичность и предотвращает утечку жидкости;
- Медные и стальные трубки, которые служат для передачи и распределения жидкости в системе;
- Клапаны из нержавеющей стали, которые контролируют поток жидкости и предотвращают обратный поток;
- Ручка и рычаг, изготовленные из прочных материалов, позволяющие пользователю удобно управлять насосом и создавать необходимое давление.
Использование качественных материалов и деталей в процессе производства гидравлического ручного насоса гарантирует его долговечность и надежность при работе.
Преимущества гидравлического ручного насоса перед другими видами насосов
Гидравлический ручной насос, использующий жидкость в качестве рабочей среды, обладает рядом преимуществ перед другими видами насосов:
1. Простота конструкции: Гидравлический ручной насос обычно имеет простую конструкцию, которая позволяет легко собирать и использовать его без дополнительных сложностей.
2. Повышенная надежность и долгий срок службы: Благодаря простоте конструкции, гидравлический ручной насос имеет меньше деталей, которые могут подвергаться износу или поломке. Это обеспечивает повышенную надежность и долгий срок службы.
3. Удобство в использовании: Гидравлический ручной насос легко переносить и использовать в различных условиях. Он не требует подключения к электросети или использования внешних источников энергии, что делает его удобным для работ на открытом воздухе или в удаленных местах.
4. Высокая эффективность и производительность: Гидравлический ручной насос способен достичь высокой мощности и производительности при небольшом весе и размере. Он может обеспечивать высокий уровень давления и поддерживать непрерывное поток жидкости.
5. Экономичность и экологичность: Гидравлический ручной насос обычно работает без использования электричества или других видов энергии, что делает его экономически выгодным. Кроме того, некоторые модели гидравлических насосов могут использовать экологически чистые и биоразлагаемые смазочные материалы, что делает их экологически безопасными.
В целом, гидравлический ручной насос является удобным, эффективным и экономичным устройством, способным обеспечить высокий уровень давления и производительности в различных условиях.
Области применения гидравлического ручного насоса
Строительство
В строительстве гидравлические ручные насосы применяются для подъема тяжелых грузов, установки строительных конструкций, натяжения стальных тросов и проведения других операций, требующих мощного и контролируемого гидравлического давления. Они также используются при строительстве и обслуживании мостов, тоннелей и других инфраструктурных объектов.
Промышленность
В промышленности гидравлические ручные насосы применяются для выполнения различных задач, таких как подъем и перемещение тяжелых предметов, гидравлическое прессование, фиксация и удержание предметов в нужном положении, а также контролирование гидравлических систем и оборудования. Они широко используются в автомобильной, аэрокосмической, судостроительной, нефтегазовой и других отраслях промышленности.
Сельское хозяйство
Гидравлические ручные насосы также находят применение в сельском хозяйстве. Они используются для подъема и опускания сельскохозяйственных инструментов и механизмов, таких как плуги, культиваторы, грабли, навесные орудия и дрель. Они также могут использоваться для подачи воды в полевых условиях, например, для полива посевов или орошения.
- Строительство
- Промышленность
- Сельское хозяйство
В общем, гидравлические ручные насосы являются незаменимым инструментом во многих областях, где требуется контролируемое и мощное гидравлическое давление. Они обеспечивают надежность, эффективность и простоту использования, делая их идеальным выбором для широкого спектра задач.
Технические характеристики гидравлического ручного насоса
Насос состоит из основных компонентов, таких как корпус, поршень, клапаны, рукоятка и шток. У каждого из этих компонентов имеются свои технические характеристики, которые определяют работоспособность и эффективность насоса.
Одной из важных характеристик является производительность насоса, которая указывает на количество жидкости, перекачиваемой за единицу времени. Она измеряется в литрах в минуту или кубических дециметрах в минуту. Чем выше производительность насоса, тем быстрее может быть выполнено заданное давление в системе.
Другой важной характеристикой является давление, создаваемое насосом. Оно измеряется в барах или паскалях и указывает на силу, с которой насос перекачивает жидкость. Высокое давление позволяет использовать насос для выполнения более сложных задач в гидросистеме.
Также следует обратить внимание на ресурс насоса, который показывает, сколько времени он может работать без поломок или потери производительности. Ресурс насоса зависит от качества материалов, из которых он изготавливается, а также от правильного обслуживания и эксплуатации.
Кроме того, стоит обратить внимание на габаритные размеры и вес насоса. Это важно для удобства транспортировки и установки насоса в гидросистеме. Небольшие размеры и легкий вес помогают сделать насос более мобильным и удобным в использовании.
Технические характеристики гидравлического ручного насоса имеют большое значение при выборе и эксплуатации этого устройства. Они определяют его возможности и позволяют достичь нужных результатов в работе гидросистемы.
Уход и техническое обслуживание гидравлического ручного насоса
Для обеспечения надлежащего функционирования и продолжительного срока службы гидравлического ручного насоса необходимо регулярно проводить уход и техническое обслуживание. В данном разделе мы рассмотрим основные этапы данного процесса.
Перед началом обслуживания гидравлического ручного насоса, необходимо убедиться в его полной выключенности и отсутствии подключения к электропитанию. Затем, следует внимательно осмотреть насос на предмет повреждений или износа. В случае обнаружения дефектов, необходимо проконсультироваться с производителем или сервисным центром.
Перед началом смазывания гидравлического ручного насоса, следует прочитать руководство по эксплуатации. Наиболее распространенным способом смазки является применение смазочного масла, рекомендованного производителем. Смазку следует проводить регулярно, в соответствии с указаниями в руководстве. Отсутствие смазки может привести к поломке насоса, а излишнее количество масла может вызвать протечки.
Необходимо регулярно очищать гидравлический ручной насос от грязи и пыли. Для этого можно использовать мягкую тряпку, смоченную в воде или мягкий щеточку. При очистке, следует избегать попадания влаги и грязи внутрь насоса, так как это может привести к его поломке или неправильной работе.
Помимо этого, регулярно проверяйте состояние шлангов и соединений гидравлического насоса. В случае обнаружения повреждений или протечек, замените их немедленно. Использование поврежденных или изношенных шлангов может быть опасным и привести к аварии или травме оператора.
Наконец, регулярно проверяйте работоспособность гидравлического ручного насоса. Для этого, проводите тестирование и контрольные испытания, предусмотренные производителем. В случае обнаружения любых неисправностей или отклонений от нормы, обращайтесь за помощью к производителю или квалифицированному специалисту.
Соблюдение регулярного ухода и технического обслуживания гидравлического ручного насоса позволит держать его в надлежащем рабочем состоянии и предотвратить возможные поломки, что обеспечит безопасность и продолжительность его эксплуатации.
Инструкция по эксплуатации гидравлического ручного насоса
Подготовка к эксплуатации насоса
Перед началом использования гидравлического ручного насоса, необходимо проверить его состояние и уровень масла. Убедитесь, что насос находится в исправном состоянии, без видимых повреждений и течей. Если обнаружены какие-либо неисправности, не пытайтесь использовать насос без ремонта.
Определитесь со способом присоединения насоса к гидравлической системе. Обычно насосы имеют разъемы для присоединения шлангов и адаптеров. Убедитесь, что выбранный способ соответствует требованиям вашей системы.
Использование гидравлического ручного насоса
1. Разместите насос на ровной и устойчивой поверхности. Закрепите его, чтобы предотвратить смещение в процессе работы.
2. Присоедините шланги или адаптеры к насосу и гидравлической системе. Убедитесь, что соединения плотные и надежные.
3. Переключите насос в положение «Рабочее давление» или «Подача». Это зависит от модели насоса. Убедитесь, что выбранный режим соответствует вашим потребностям.
4. Начинайте подкачивать ручку насоса ритмичными движениями вверх-вниз. Постепенно увеличивайте давление, следите за индикаторами на манометре или других датчиках давления насоса.
5. После достижения нужного давления в гидравлической системе остановите подкачивание и переведите насос в положение «Сброс». Это позволит уравнять давление и избежать потери силы.
6. По окончании работы с насосом, выключите его и отсоедините шланги или адаптеры. Очистите насос от грязи и пыли с помощью мягкой щетки или сухой тряпки.
Следуйте этим инструкциям по эксплуатации гидравлического ручного насоса и всегда соблюдайте правила безопасности при работе с таким устройством. Неправильное использование может привести к серьезным травмам и повреждениям оборудования.
Варианты моделей гидравлического ручного насоса
Существует несколько вариантов моделей гидравлических ручных насосов, каждый из которых имеет свои особенности и предназначение для различных задач.
1. Ручные насосы с ручкой-рычагом
Эти насосы оснащены ручкой-рычагом, с помощью которого оператор создает давление в системе. Они обычно имеют высокую производительность и могут использоваться для передачи большого объема жидкости за короткое время. Они широко применяются в автомобильной и строительной отраслях.
2. Ручные насосы с плунжером
Такие насосы оснащены плунжером, который движется вверх и вниз, создавая давление в системе. Они обычно компактные и могут обеспечивать достаточно высокое давление. Ручные насосы с плунжером применяются в различных отраслях, включая сельское хозяйство и промышленность.
3. Насосы с редуктором
Эти насосы оснащены редуктором, который позволяет создавать большое давление при относительно небольших усилиях оператора. Они обычно применяются в сферах, где требуется высокое давление, таких как судостроение и металлургия.
Выбор конкретной модели гидравлического ручного насоса зависит от требований задачи, бюджета и предпочтений оператора. Важно выбрать насос, который будет соответствовать требуемым характеристикам и обеспечивать эффективное выполнение работ.
Вопрос-ответ:
Как работает гидравлический ручной насос?
Какие преимущества у гидравлического ручного насоса?
Где используется гидравлический ручной насос?
Какую силу можно получить с помощью гидравлического ручного насоса?
Как поддерживать и обслуживать гидравлический ручной насос?
Как работает гидравлический ручной насос?
Какие материалы используются для изготовления гидравлического ручного насоса?
Каким образом можно повысить производительность гидравлического ручного насоса?
Какие основные преимущества имеет гидравлический ручной насос перед другими типами насосов?
Какую роль играет клапан в гидравлическом ручном насосе?
Как устроен гидравлический ручной насос?
Видео:
Гидравлический насос и гидравлическая стяжка!!! Ремонт
Обзор на ручной гидравлический насос TOR HHB700C
-
Насос джамбо — самое мощное оборудование для перекачки жидкостей -
Применение насосов в системах водоснабжения — особенности выбора и преимущества -
Как самостоятельно разобрать и собрать водяной насос — подробная инструкция с фото и пошаговая расписка











